Przetwarzanie danych osobowych

Nasza witryna korzysta z plików cookies

Wykorzystujemy pliki cookie do spersonalizowania treści i reklam, aby oferować funkcje społecznościowe i analizować ruch w naszej witrynie, a także do prawidłowego działania i wygodniejszej obsługi. Informacje o tym, jak korzystasz z naszej witryny, udostępniamy partnerom społecznościowym, reklamowym i analitycznym. Partnerzy mogą połączyć te informacje z innymi danymi otrzymanymi od Ciebie lub uzyskanymi podczas korzystania z ich usług i innych witryn.

Masz możliwość zmiany preferencji dotyczących ciasteczek w swojej przeglądarce internetowej. Jeśli więc nie wyrażasz zgody na zapisywanie przez nas plików cookies w twoim urządzeniu zmień ustawienia swojej przeglądarki, lub opuść naszą witrynę.

Jeżeli nie zmienisz tych ustawień i będziesz nadal korzystał z naszej witryny, będziemy przetwarzać Twoje dane zgodnie z naszą Polityką Prywatności. W dokumencie tym znajdziesz też więcej informacji na temat ustawień przeglądarki i sposobu przetwarzania twoich danych przez naszych partnerów społecznościowych, reklamowych i analitycznych.

Zgodę na wykorzystywanie przez nas plików cookies możesz cofnąć w dowolnym momencie.

Optyczne.pl

Aktualności

O tym się mówi, czyli plotki i ploteczki z ostatniego tygodnia

O tym się mówi, czyli plotki i ploteczki z ostatniego tygodnia
24 kwietnia
2010 22:30

Święta Wielkanocne oraz późniejsza żałoba narodowa wstrzymały publikację plotek na prawie miesiąc. Dziś w końcu możemy powrócić do tego wyczekiwanego przez wielu, cotygodniowego artykułu i choć sporo interesujących plotek nas w tym czasie minęło, to w ostatnich dniach również znalazło się kilka ciekawych tematów. Posłuchajcie...

Uwaga! Poniższe informacje w większości nie są oficjalnymi informacjami producentów i pochodzą często z nieznanych i niepotwierdzonych źródeł.

O tym się mówi, czyli plotki i ploteczki z ostatniego tygodnia

Canon

Stare plotki

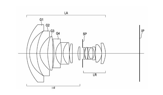
W przypadku Canona trudno znaleźć jakieś interesujące plotki z ostatnich siedmiu dni. Nawet szukając wśród wcześniejszych doniesień nie udało nam się natrafić na cokolwiek konkretnego. Pojawiły się głosy na temat EF 14–24 f/2.8L, który miałby wejść na rynek jeszcze w tym roku.

O tym się mówi, czyli plotki i ploteczki z ostatniego tygodnia
Schemat obiektywu EF 14–24 f/2.8 z wniosku patentowego złożonego przez firmę Canon.

Inne doniesienia sprzed ponad tygodnia pochodzą z nowych, niepotwierdzonych źródeł i mówią o dwóch tegorocznych premierach Canona. Pierwsza w nich będzie podobno miała miejsce przed Photokiną i przyniesie ona światu następcę lustrzanki EOS 50D, nową wersję EF-S 60 mm Macro, która zostanie wyposażona w stabilizację, a także nową wersję EF 70–300 mm.

Druga ze wspomnianych premier spodziewana jest podczas Photokiny. Jeśli plotka się potwierdzi, to Canon zaprezentuje wówczas profesjonalnego EOS-a 1Ds Mark IV i EF 24–70 f/2.8L IS. Do kompletu producent ma „dorzucić” jeszcze jakąś stałkę serii L, nową lampę błyskową oraz bliżej nieokreślone akcesoria.

Nikon

Kwietniowe premiery Nikona

Mówi się, że jeszcze w tym miesiącu Nikon zaprezentuje kilka nowych produktów. W plotkach pojawiają się daty 27 i 29 kwietnia, lecz tym razem raczej nie powinniśmy oczekiwać premiery nowych lustrzanek. Bardziej prawdopodobne wydają się nowe obiektywy, gdyż kilka modeli przewija się w ostatnich nieoficjalnych doniesieniach. Pierwszym kandydatem jest 200–400 mm f/4.0, mówiło się również o 85 mm f/1.4, a także 70–200 mm f/4.0 VR. Ostatnim modelem, który przewijał się przez serwisy plotkarskie jest 24–1xx mm f/4.0 VR. W jego przypadku najpierw mówiło się o ogniskowych 24–120 mm, a potem pojawiły się doniesienia o 24–105 mm. Wszystkie informacje są jednak mało konkretne i mogą dotyczyć długoterminowych planów producenta, a w przyszłym tygodniu zamiast obiektywów równie dobrze możemy ujrzeć nowe Coolpix-y.

Olympus

Kiedy E-5

Wiele osób od dawna zadaje sobie pytanie – kiedy Olympus zaprezentuje następcę modelu E-3? Mówi się, iż nastąpi to między czerwcem a wrześniem br., a nowa lustrzanka (oznaczona jako E-5) ma wejść w miejsce nie tylko modelu E-3, ale także E-30.

Panasonic

Adapter z detekcją fazy

Miłośnicy wniosków patentowych doszukali się dokumentu złożonego przez firmę Panasonic, który opisuje adapter dla aparatów systemu Mikro Cztery Trzecie. Inżynierowe wymyślili, iż można w nim umieścić półprzepuszczalne lustro i czujniki AF, dzięki czemu nasz bezlusterkowiec będzie mógł korzystać z detekcji fazowej podczas ustawiania ostrości. Tylko czy wówczas nadal będziemy mogli go nazywać bezlusterkowcem?

O tym się mówi, czyli plotki i ploteczki z ostatniego tygodnia
Rysunek z wniosku patentowego firmy Panasonic

Pentax

Bezlusterkowiec w wydaniu Pentaksa

W plotkarskich serwisach pojawiły się doniesienia, z których wynika, że koncern Hoya zamierza przyłączyć się do grupy firm wspierających system Mikro Cztery Trzecie. Jeżeli plotki się potwierdzą, to niebawem możemy spodziewać się bezlusterkowców z logotypem Pentax.

Samsung

Samsung i Schneider-Kreuznach

Podobno koncern Samsung podpisał porozumienie z firmą Schneider-Kreuznach, w ramach którego sprecyzowano następujące punkty współpracy:
  • Schneider-Kreuznach zaprezentuje swoje obiektywy M42 w wersji z mocowaniem Samsung NX (mają mieć one nowe powłoki antyodbiciowe i poprawioną konstrukcję).
  • W najbliższych miesiącach Schneider-Kreuznach zaprezentuje nowe obiektywy dla systemu Samsung NX. Seria ma nazywać się SX, a znajdą się w niej modele:
    • 15 mm f/2.3 Super-Angulon
    • 21 mm f/2 Super-Angulon
    • 35 mm f/1.4 Xenon
    • 55 mm f/1.4 Xenon
    • 90 mm f/1.8 Tele-Xenar
    • 70 mm f/2.8 Claron (Macro).
  • Obiektywy będą projektowane przez specjalistów Schneider-Kreuznach, a produkowane w Korei przez Samsung/Optron-Tech.

Nowy NX

Nowy bezlusterkowiec systemu Samsung NX ma pojawić się w przyszłym roku i podobno zostanie wyposażony w nową, udoskonaloną matrycę CMOS o tej samej rozdzielczości co w NX10.

Sony

NEX – czyli bezlusterkowiec w wydaniu Sony

O bezlusterkowcach z logo Sony mówi się już od kilku miesięcy. Na początku roku producent zaprezentował pierwsze prototypy, a w plotkach pojawiała się majowa data premiery. Choć początkowo trudno było w nią uwierzyć, to ostatnie doniesienia potwierdzają tą informację i już niemal jako pewnik podaje się 11 maja br.

Jeżeli wierzyć kolejnym plotkom, to Sony tego dnia zaprezentuje dwa bezlusterkowce – NEX3 i NEX5, które zostaną wyposażone w 14-megapikselowe matryce APS-C Exmor HD. Plastikowy NEX3 ma dawać możliwość rejestracji filmów w rozdzielczości HD 720p. Droższy, nieco większy i wyposażony w tryb Full HD 1080p NEX5 będzie wykonany solidniej, gdyż w jego obudowie znajdą się metalowe elementy.

W aparatach ma być użyty wysokiej jakości, ruchomy ekran LCD o przekątnej 3" i rozdzielczości 920 tys. punktów. Niestety na próżno w nich szukać wizjera czy lampy błyskowej. Ta ostatnia ma być dokładana w zestawie i będzie podłączana przez złącze hot-shoe. Nieco dziwią doniesienia o braku wbudowanej w korpus stabilizacji. Producent podobno podjął decyzję o zastosowaniu optycznego systemu redukcji drgań, który znajdzie się w obiektywach. A będzie ich na początek kilka i wszystkie wykonane z metalu. Pierwszy to kit o zakresie ogniskowych 18–55 mm i świetle f/3.5–5.6, drugi to naleśnik 16 mm f/2.8, a trzeci to zoom 18–200 mm.

Mówi się, że Sony przymierza się do małej wojny cenowej z aparatami systemu Mikro Cztery Trzecie, gdyż NEX3 z naleśnikiem ma kosztować 550 USD, a NEX5 ok. 700 USD.


Komentarze czytelników (121)
  1. 24 kwietnia 2010, 22:44

    co do plotek nikona- to te 70-200 f4 i 24-1xx f4 to raczej plotki na podstawie zachcianek nikoniarzy :>
    mało prawdopodobne według mnie... chociaż po ostatniej premierze 16-35... kto wie :>
    znając życie znowu pokarzą coolpix'y

  2. 1980paul
    1980paul 24 kwietnia 2010, 22:49

    A ja się nie zdziwię jak E-5 pozostanie tylko plotka, zważywszy ze Olympus skupił się na Micro.

  3. mavierk
    mavierk 24 kwietnia 2010, 22:54

    trzymam kciuki za Samsunga - ten zestaw szkieł... aż mnie ciarki przechodzą ;)

  4. lolek46
    lolek46 24 kwietnia 2010, 23:02

    Miesiąc temu kupiłem EF-S 60 mm Macro, a tu Canon ma zamiar wypuścić to szkło z IS. A to pech...

  5. rabusar
    rabusar 24 kwietnia 2010, 23:02

    a sony chyba usiłuje sobie strzelić w stopę brakiem stabilizacji. Na czym oprą marketing?

  6. goornik
    goornik 24 kwietnia 2010, 23:16

    a ja bym poprosił jakieś dłuuugie stałki Nikona, coś w stylu AF-S VR 400/4, AF-S VR 500/4,5.....
    Nie muszą być koniecznie w kwietniu, mogą być na Photokinę :)

  7. dch
    dch 24 kwietnia 2010, 23:18

    e-5? po co to komu niby jeszcze? Olek w lustrzankach nie zaoferuje już czegokolwiek ciekawego, lepiej jak by porządnie skupili się na m/43

  8. P_M_
    P_M_ 24 kwietnia 2010, 23:29

    Sporo nikoniarzy ucieka do canona, bo nikon mial ich zachcianki w du.ie. Moze pojda po rozum do glowy i cos z tym zrobia. Ja tez przymierzam sie do tego. Mam ochote np. na systemowy 70-200/4, na ktorym nie zbankrutuje, filmowanie 1080p i pare innych drobiazgow. Gowniane matryce jakos przeboleje, bo iso >400 nie uzywam. Czekam jak systuacja sie rozwinie. Narazie canon oferuje mi 550d, ktory jest zbyt maly nawet z gripem i do tego tandeta wali po oczach oraz przereklamowany 7d, ktory jest zbyt drogi. 5dmk2 jest po za moim zasiegiem (narazie). Bedzie 60d w tym roku? Wierze, ze tak.
    Jeszcze jedno. Mam wrazenie, ze oryginalna szklarnia nikona jest coraz mniej starannie wykonana. Materialy tez zalatuja taniocha.

  9. goornik
    goornik 24 kwietnia 2010, 23:33

    wiadomo, że tanie kitowe słoiki z chin nie grzeszą u Nikona jakością, ale gdzie jest inaczej? Miałeś w ręku nowego 70-210VR II, 24/1,4 oraz 16-35/4?

  10. 24 kwietnia 2010, 23:39

    W Nikonie AF 70-210 f/4 chodzi po 800 zł, ale lepiej narzekać...

  11. Yura
    Yura 25 kwietnia 2010, 00:21

    Jeśli plotki o Samsungu i Pentaksie się potwierdzą - to oznaczają one cichy rozwód.
    Z drugiej strony Samsung będzie się musiał ostro nawojować, aby stanowić konkurencję dla koalicji u4/3

    Brak perspektyw bezlusterkowca u Canona i Nikona zwyczajnie przemilczę...

  12. Lary
    Lary 25 kwietnia 2010, 01:25

    a kiedy nowe 5D?

  13. rodzyn
    rodzyn 25 kwietnia 2010, 06:53

    Yura | 2010-04-25 00:21:18


    Jeśli plotki o Samsungu i Pentaksie się potwierdzą - to oznaczają one cichy rozwód.
    Z drugiej strony Samsung będzie się musiał ostro nawojować, aby stanowić konkurencję dla koalicji u4/3

    Brak perspektyw bezlusterkowca u Canona i Nikona zwyczajnie przemilczę...

    tymczasem już 32% aparatów z wymiennymi obiektywami , sprzedawanych w Japoni to Mikro 4/3:
    link

  14. wojcias
    wojcias 25 kwietnia 2010, 08:05

    rabusar | 2010-04-24 23:02:43 "a sony chyba usiłuje sobie strzelić w stopę brakiem stabilizacji. Na czym oprą marketing? "


    Troche bym sie zdziwil bo to jak przyznanie sie ze poszla sie w slepa uliczke albo przynajmniej taka z ktorej odplywa bardzo drogi prom i tanich bezlusterkowcow na poklad nie zabiera.
    Z drugiej strony panasonic tez nie ma stabilizacji w body a swietnie sie sprzedaje. R-1 tez nie ma stabilizacji i klopotow nie sprawial.

    Jesli ten NEX bedzie mial bajery jak kompakcik hx5v tylko z duza matryca - to marketing nie bedzie potrzebny. Wystarczy ze ktos wezmie go w rece. swietny HDR, przerewelacyjna panorama, wybieranie najostrzejszego zdjecia z kilku ujec, filmy full HD w "prawdziwie filmowej" kompresji czyli AVCHD - to chyba koniec lustra < 3000zl

  15. hasky
    hasky 25 kwietnia 2010, 08:52

    nie rozumiem czemu coraz częściej się pojawiają przepowiednie
    o końcu lustra , ja osobiście nie wyobrażam sobie pracy bez prawdziwego
    optycznego wizjera...

  16. 25 kwietnia 2010, 09:06

    hasky: bo widocznie miałeś do czynienia tylko z EVF o marnej rozdzielczości...

  17. hasky
    hasky 25 kwietnia 2010, 09:22

    nie chodzi o rozdzielczość , po prostu optyczny wizjer dla mnie jest lepszy...

  18. komor
    komor 25 kwietnia 2010, 09:31

    @P_M_: "Sporo nikoniarzy ucieka do canona, bo nikon mial ich zachcianki w du.ie."
    Paczpan, w drugą stronę też to samo :) Jak się nie obrócić, zawsze d. z tyłu.

  19. goornik
    goornik 25 kwietnia 2010, 09:39

    Bladyrunner
    Ale pamiętaj, AF 70-210/4 to konstrukcja z roku 86, a optyka to rok 81(seria E), i jest starszy niż większość czytelników optyczne.pl. Ciężko ten obiektyw nazwać nowoczesnym towarzyszem lustrzanki cyfrowej. Co oczywiście nie zmienia faktu, że jest to BARDZO DOBRE szkło.....

  20. Marian
    Marian 25 kwietnia 2010, 09:56

    Dopóki nie dowiemy się od Sony jakie jeszcze szkła przewiduje do swoich NEXów, to nie będą one stanowić groźnej konkurencji. Trzy wymienione nie wróżą sukcesu?

  21. Xan
    Xan 25 kwietnia 2010, 09:58

    Te 24-105/4 i 70-200/4 to także marzenia ludzi z S. Pamiętam jakieś "wycieki" kilka miesięcy temu na temat Sony 24-105/4 G SSM.
    Na te dwa obiektywy jest duży rynek. Fakt że jest stara minolta 24-105/3,5-4,5 , stara flinta i 70-200/4 u nikona ale to szkła które maja ponad 20 lat.
    A patrząc na jakość oferowana przez 70-200/4 USM chciało by się mieć coś takiego u siebie.

    rabusar | 2010-04-24 23:02:43 "a sony chyba usiłuje sobie strzelić w stopę brakiem stabilizacji. Na czym oprą marketing? "

    Stabilizacja w korpusie nie pasuje do idea NEXa, zwiększyła by ona cenę i wymiary aparatu. A te wszystkie bezlusterkowce opierają się na pomyśle duży sensor w małym korpusie. I ciekawe że rozwijają ISa, widocznie chcą nabrać doświadczenia przed wprowadzeniem szkieł z IS do lustrzanek.

    Bardzo podobają mi się te nowe obiektywy do NX , jak będą na poziomie 30/2 to ten system coraz ciekawiej wygląda, powiedział bym że najciekawiej ze wszystkich bezlusterkowców.

  22. lennykrawiec
    lennykrawiec 25 kwietnia 2010, 10:51

    Stabilizacja w obiktywach nie pasuje do idei NEX-a - wrzucenie modułu stabilizacji matrycy w korpus nie zwiększy wymiarów tak bardzo, jak stabilizacja w obiektywach.

  23. lennykrawiec
    lennykrawiec 25 kwietnia 2010, 10:52

    Poza tym 2 lata temu Sony sprzedawało body A200 po 777zł. A lustrzanka jest zdecydowanie droższa w produkcji niż taki bezlusterkowiec.

  24. wojcias
    wojcias 25 kwietnia 2010, 11:01

    Xan | 2010-04-25 09:58:09 .......... A te wszystkie bezlusterkowce opierają się na pomyśle duży sensor w małym korpusie. I ciekawe że rozwijają ISa, widocznie chcą nabrać doświadczenia przed wprowadzeniem szkieł z IS do lustrzanek. .............


    Pewnie powodem jest tez " filmowanie" . Chyba nie da sie stabilizowac plynnie matrycy w czasie filmowania? Tzn na tyle plynnie zeby dalo sie krecic filmy HD. Jedyna droga to IS w obiektywie o czym sony doskonale wie od ponad 20 lat produkujac kamery ze stabilizacja w obiektywach.

  25. jarekzon
    jarekzon 25 kwietnia 2010, 11:17

    dch - przypominam Ci tylko, że tak samo mówiono o micro4/3. Jak popularny jest ten segment obecnie, to nikomu nie trzeba przypominać.

  26. lennykrawiec
    lennykrawiec 25 kwietnia 2010, 11:44

    wojcias, myślę, że to akurat nie jest argument ani powód. Zasada działania jest przecież identyczna.

  27. jaad75
    jaad75 25 kwietnia 2010, 12:44

    @wojcias "Pewnie powodem jest tez " filmowanie" . Chyba nie da sie stabilizowac plynnie matrycy w czasie filmowania? Tzn na tyle plynnie zeby dalo sie krecic filmy HD. Jedyna droga to IS w obiektywie o czym sony doskonale wie od ponad 20 lat produkujac kamery ze stabilizacja w obiektywach."
    Ależ da się, czego przykładem są K-7 i K-x.

    @caleb "hasky: bo widocznie miałeś do czynienia tylko z EVF o marnej rozdzielczości... "
    Ja miałem do czynienia z tym w G-1 i GH-1 - to mimo wszystko wciąż jeszcze przepaść w stosunku do wizjera optycznego...

    @rodzyn "Jeśli plotki o Samsungu i Pentaksie się potwierdzą - to oznaczają one cichy rozwód. "
    Cichy "rozwód" nastąpił już dawno, bo ok. 1.5 roku temu... Tyle, że to nigdy nie było "małżeństwo'...

    @P_M_, jeszcze większa jest migracja w drugą stronę...

  28. wojcias
    wojcias 25 kwietnia 2010, 13:31

    aha - to nie wiem co moze byc przyczyna ze nagle zmieniaja swietna stabilizacje na inna koncepcje. Wielkosc tez chyba nie skoro juz 6-7 lat temu Minolta wkladala stabilizacje matrycy do malej i taniej Z-5

  29. maczetka
    maczetka 25 kwietnia 2010, 14:57

    jesli plotki canonowe sie potwierdza to bedzie chyba najlepszy rok dla uzytkownikow tego systemu. w tym mnie :-)

  30. Etitek
    Etitek 25 kwietnia 2010, 16:09

    canon albo próbuje dopieścić swoje produkty albo ma niezłego lenia bo bardzo długo się to ciągną te jego nowe premiery

  31. P_M_
    P_M_ 25 kwietnia 2010, 16:44

    No fakt. Do np. focenia slubniakow nikon jest jednak lepszy. ISO, kolory, AF...
    Trudno porownywac, w ktora strone exodus wiekszy. Prowadzi ktos statystyki? Chyba nie.
    O wspomnianych obiektywach nikoniarze marudza od dawna, a dopiero 16-35/4 sie pojawil. O cenie lepiej nie wspominac, a mial byc tanszym zamiennikiem szkla f2.8... Niestety pancernym nazwac go nie mozna. Wykonanie, jak 24-70/2.8, z ktorym rozne dziwne rzeczy sie dzieja... Mogli sie bardziej postarac za taka kase.

  32. 25 kwietnia 2010, 17:10

    wiadomo coś na temat lx4 panasa?

  33. dziunek94
    dziunek94 25 kwietnia 2010, 17:20

    Tak zwane bezlusterkowce wymyślają ci,którzy nie są w stanie zaistnieć na rynku luster.To nie ekonomia... to niemoc! Na szczęście Canon,Nikon i Pentax do nich nie należą...oby jak najdłużej!
    Pozdrawiam

  34. cissic
    cissic 25 kwietnia 2010, 18:37

    Psy szczekają, karawana jedzie dalej:)

  35. usir
    usir 25 kwietnia 2010, 19:20

    Zwiększona migracja ludzi miedzy systemami IMHO nie zależy od tego czy producent zadowala zachcianki klientów. Myślę, że jest to raczej spowodowane rosnącą wciąż (niestety) liczbą ludzi, którzy myślą, że jakość zdjęć i ich atrakcyjność zależy od posiadanego sprzętu.

  36. macstone
    macstone 25 kwietnia 2010, 20:23

    Co do migracji systemowych to nie mam pojęcia, ale z moich znajomych (Warszawa) znam 8 osób które kupiły 7D, w tym 3 przesiadające się z Nikona. Jedną z nich byłem ja sam. Plus 2 osoby które kupiły 5D. W tym czasie jedna osoba zdecydowała się na NIKON'a D90 na którego chorowała pół roku. To mimo wszystko o czymś świadczy. Być może tylko o udanym marketingu, a być może o czymś więcej. W moim przypadku było to coś, na co czekałem od dawien dawna. Możliwość filmowania w FULL HD za pomocą szkieł fotograficznych. W przypadku większości wymienionych ludzi również to było główną przyczyną. Nikon'em robiło się fantastycznie zdjęcia, ale w moim wypadku w pewnym momencie przespał sprawę całkowicie jeśli chodzi o technologię.

  37. Mikrokolos
    Mikrokolos 25 kwietnia 2010, 20:30

    Usir - - niestety tak jest, ze jakosc zdjec zalezy od posiadanego sprzetu.....

  38. usir
    usir 25 kwietnia 2010, 20:40

    Mikrokolos -- chodziło mi o jakość w szerokim znaczeniu. Mówiąc obrazowo o ludzi, którzy robią zdjęcia odbicia w wodzie w trybie auto, który to z kolei odpala wbudowaną w korpus lampę błyskową. Zdjęcie nie wychodzi i jego autor ma wtedy pretensje do sprzętu :/

    macstone -- pozostaje mi jedynie cieszyć się, że w przypadku Twoich znajomych i Ciebie ( i zapewne wielu odwiedzających te stronę) się myliłem :)

  39. lennykrawiec
    lennykrawiec 25 kwietnia 2010, 22:29

    dziunek94 | 2010-04-25 17:20:07
    Tak zwane bezlusterkowce wymyślają ci,którzy nie są w stanie zaistnieć na rynku luster.To nie ekonomia... to niemoc! Na szczęście Canon,Nikon i Pentax do nich nie należą...oby jak najdłużej!
    Pozdrawiam

    Mylisz się potężnie.

  40. ato7
    ato7 25 kwietnia 2010, 22:30

    Ciekawostką są dla mnie dyskusje nt. wyższości jednego systemu bezlusterkowego nad drugim, bez uwzględnienia szkieł.
    Smutna prawda jest taka, że Samsung i Sony wypuszczają aparaty które wraz z zoomami nigdy nie będą znacząco mniejsze od lustrzanek, a na pewno ich AF będzie wolniejszy.
    Oczywiście ludziom "kit" się wciśnie. Te aparaty mają tak naprawdę sens tylko ze stałkami - i tyle. Dlaczego więc np. Samsung nie planuje żadnego szkła portretowego, ani nawet szerokiego kąta?
    Niestety m4/3 nie jest lepsze pod tym kątem - ile można czekać na tani obiektyw typu 42mm F1.8? - wystarczyłby w zupełności amatorom. Dobrze, że chociaż Olympus kombinuje, koncentrując się na rozmiarze szkieł - i widać tego efekty (micro 9-18).
    Kupować bezlusterkowca Sony czy Samsunga z zoomem w kicie to jakieś nieporozumienie - ani to małe, ani szybkie, a droższe od lustrzanki...

  41. Breen
    Breen 25 kwietnia 2010, 23:00

    Dziunek mylisz się. Ja sam wolę aparat w stylu Pena, oferujący jakość zdjęć lustrzanki, możliwość wymiany obiektywów, a przede wszystkim nieduże rozmiary. Prawda jest taka, że bardzo wiele osób wcale nie potrzebuje lustrzanki, ale potrzebuje dobrego aparatu. Kompakty nie są do re w tym sensie, że są ograniczone przez zbyt małą matrycę, stały obiektyw.. Mikro 4/3 to strzał w 10, i to widać po ilości sprzedanych bezlusterkowców na zachodzie i na dalekim wschodzie. Co do obiektywów to jest już swietny panasonic 20 f 1.7. Olympus też na pewno pokaże jakieś jasne szkiełka. Aha, mogę się założyć, że takim bezlusterkowcem da się zrobić tak samo dobrą fotkę jak lustrzanką.. z prostego powodu, bebechy są takie same jak w DSLR.

  42. lennykrawiec
    lennykrawiec 25 kwietnia 2010, 23:31

    Mi się marzy takie coś - body bezlusterkowe, obowiązkowo z możliwością podpięcia jednocześnie wizjera i lampy, stabilizacją obrazu... Body małe, płaskie - w stylu Pena, matryca apsc.
    Do tego uważam ze mądrze by było robic szklarnie w miare kompromisową (np zoomy ze swiatłem 3.5 lub 4 zamiast 2.8) i obowiązkowo komplet standardowych stałek projektowanych tylko pod ten system (crop, szkło blisko matrycy) - jasne standardy i stałki ze swiatłem 2.8.
    Chętnie bym kupił takie coś z kitem i potek inwestował w stałeczki.

  43. Yura
    Yura 25 kwietnia 2010, 23:38

    ato7 - to, że posiadasz lustrzankę cyfrową zawdzięczasz tylko temu, że przy cyfrowej rewolucji kliszę zastąpiono matrycą - nikt nie powiedział, że to najlepsze wyjście, po prostu najszybsze i najłatwiejsze.
    To, że bezlusterkowce to trudna technologia i na razie choruje na choroby wieku dziecięcego, to oczywiste. Ale lustrzanka jest z góry ograniczona - jaki ma przyszły potencjał? Co możesz wskazać jako kolejny element postępu w lustrze? Chyba, że uważasz, ze fotografia nie może już być bardziej praktyczna? A teraz wyobraź sobie np histogram w wizjerze w czasie rzeczywistym, podgląd balansu bieli w czasie rzeczywistym - czyli wiesz jak zdjęcie będzie wyglądać po wciśnięciu spustu. To JEST potencjał. Gdyby to nie było istotne to poco taki pęd do LV w lustrzankach? Przecież to próba dostosowania starej technologii do nowych oczekiwań, kiedy dla bezlusterkowców to "oczywista oczywistość" w ich rozwoju.

  44. 25 kwietnia 2010, 23:50

    Nawet wiem skąd te plotki link o Nikonie 24–105 mm I uwaga ...and 50 f/1.2 mm ŁOOOO ha :d

  45. 25 kwietnia 2010, 23:56

    Przy okazji znalazłem takie fotografie "STARYM" Nikkor 50mm f/1.2 AI-S

    link

  46. 26 kwietnia 2010, 00:23

    Kto czyta ten nie błądzi :)

    There is a patent for a new Nikon AF-S Nikkor 50mm F1.2G lens

    link

    The patent was filed on July 2nd, 2008 and was published on January 21st, 2010. I could not find any reference to this lens in the US Patent Office – it seems that this patent was filed only in Japan (just a reminder that patents do not guarantee a future production version).

    Czyli nowy obiektyw ma być spodziewany w roku 2011

  47. tomato
    tomato 26 kwietnia 2010, 00:34

    > Yura: (...) Gdyby to nie było istotne to poco taki pęd do LV w lustrzankach? Przecież to próba dostosowania starej technologii do nowych oczekiwań, kiedy dla bezlusterkowców to "oczywista oczywistość" w ich rozwoju.

    zyja jeszcze ci, ktorzy nie mieli LV ani nawet lusterka w Sinarze czy Combo i zdjecia robili piekne... oczywistosc dla jednych nie oznacza oczywistosci dla innych... wypowiedzi 'ostateczne' sa zabawne. kazda technologia ma bowiem swoje 'zady i walety'. nie widze powodu 'przycinania' uzytkownikom mozliwosci wybori i wymuszania na ludziach korzystania z 'jedynego slusznego' technologicnzie systemu.

    mam te wrazenie, ze nikt juz nie pamieta slow A. Adamsa. to bylo cos o wyobrazeniu docelowego zdjecia... bez LV jakos dawal rade i zycze kazdemu fotografujacemu takiego kunsztu bez wspomagania sie HDRami...

  48. juventino
    juventino 26 kwietnia 2010, 02:14

    wychodzi na to, że ten kto czyta również błądzi Marku :)

  49. wercio
    wercio 26 kwietnia 2010, 07:38

    Bezlusterkowce cierpią na kilka wad, które będzie trudno usunąć. Ich wadą jest wizjer. Kadrowanie w oparciu o ekran ma wiele wad. Po pierwsze trzymanie, aparat przyciśnięty do oka jest stabilniejszy, a wizjer musi być znacznie lepszy. Nie chodzi tylko o rozdzielczość, ale także o jego zwłoczność i wyświetlane kolory. Przy podglądzie przez lustro i pryzmat widać dobrze scenę. Wyświetlacze muszą jeszcze zostać udoskonalone i to bardzo. Zakres tonalny jest zbyt niski, co z tego, że aparat ma 12 bitów jak przez wizjer zobaczymy 7 bitów. Fotografa interesuje to co jest przed obiektywem, a nie obraz mocno przetworzony przez aparat. Bezlusterkowce na razie to zabawka do podniecania się małym ciężarem aparatu.

  50. wojcias
    wojcias 26 kwietnia 2010, 07:46

    Tomato - zyja jeszcze ludzie ktorzy nie mieli kolorowego Tv a wtedy juz krecili piekne filmy na szerokiej tasmie jak "Kleopatra"
    Czy ktos pamieta czasy jak nie bylo tel komorkowych? Kilka dni temu we wrocku wylaczyli ERE na kilka godzin a ludzie mysleli ze swiat sie skonczyl.

    Yura ma racje - - bezlusterkowce to oczywista oczystosc a LV to tylko chwilowa proba przedluzenia zycia amatorskich lustrzanek przed nieuniknionym.
    To nie tylko histogram. To rowniez bajery jak sweep panorama, 10 kl/sek w aparaciku za 500$ - no i przede wszystkim trwalosc. Ilu z Was juz jest po naprawie migawki? W wiekszosci projektowane byly na kilkaset rolek filmow 36 klatkowych a teraz tyle klikniec robi sie na jednym weselu.
    I znow - powtorze sie - parcie na filmy w aparatach - Zobaczcie jak dziala AF w czasie filmowania w lustrzance takiej jak D90 czy 5Dmk2 i w kilkakrotnie tanszym bezlusterkowcu Panasonic GH1

    Mozna oczywiscie dalej brnac i robic zdjecia bez wbudowanego histogramu czy HDRa - ale po co?
    Za 10 lat zdjecia z lustrzanek (poza kilkoma modelami reporterskichz super szybkim AF) beda tym samym czym teraz fotografia otworkowa. Dla pasjonatow.

  51. archangelgabrys
    archangelgabrys 26 kwietnia 2010, 08:00

    Tak, zwróćcie tylko uwagę że na razie topowe modele lustrzanek posiadają matryce pełnoklatkowe, a tańsze modele aps-c. W przypadku bezlusterkowców, jak na razie to aps-c jest największym formatem matrycy. Jakość obrazu (szczegółowość, poziom szumu) zależy przede wszystkim od wielkości fizycznej matrycy - gęsto upakowane FF (A900, D3x, 1Ds) oferują powalającą szczegółowość, a pełnoklatkowce z dwukrotnie mniejszą gęstością oferują mniejszą szczegółowość, a lepszą jakość przy wysokich ISO (D700, D3s). Takich możliwości nie dają matryce aps-c (nawet oferujące rewelacyjną jakość A550 czy K-x nie oferują aż tyle co D3s). Można matryce rozwijać i ulepszać technologicznie, ale fizyki się nie przeskoczy. W asp-c wciąż wielkość pixela będzie mniejsza niż w FF, a więc nie zaoferuje takiej jakości jak FF. Nie wspomnę już o średnim formacie. Dlatego ja bym się wstrzymał z rychłym końcem lustrzanek, bo jak na razie systemy bezlusterkowe mogą co najwyżej zaoferować jakość z amatorskiej lustrzanki w aparacie wielkości kompakta (i myślę że takie właśnie jest założenie), a nie całkowicie wyprzeć technologię luster. To tylko wstrzelenie się w kwestię potrzeb małego korpusu i sporych możliwości, niż próba zastąpienia sprawdzonej i wciąż rozwijanej technologii. Nie każdy chce przecież nosić na wycieczce cegłę, a niewielki korpus o sporych możliwościach wydaje się dobrym kąskiem.

  52. Szabla
    Szabla 26 kwietnia 2010, 08:57

    cyt. ato7: " Smutna prawda jest taka, że Samsung i Sony wypuszczają aparaty które wraz z zoomami nigdy nie będą znacząco mniejsze od lustrzane"

    Właśnie Sony z zoomem jest znacząco mniejsze od lustrzanki. Olympusy są wyraźnie większe, a Panasoniki i Samsung - jeszcze bardziej. Prawdopodobnie jest to konsekwencja wycofania się Samsunga i Panasonica z segmentu lustrzanek. Ich aparaty bez lustra są celowo większe, aby przypominały lustrzanki, choć przecież nie muszą. Stąd też oferta optyki - innej nie będzie, więc firmy mogą się na tym skoncentrować. Modele Panasa wyglądają dokładnie jak minilustrzanki - z założenia. Olympus ma jeszcze kilka lustrzanek w ofercie, więc jego modele bezlustrowe muszą być zbudowane inaczej - choćby jako alternatywa. Prawdopodobnie chwilowo, bo widać, że firma raczej nie wiąże przyszłości z lustrzankami i kieruje się ku systemowi mikro 4/3. Za jakiś czas pokaże się więc "pen" wyglądający jak lustrzanka.
    Sony nadal rozwija lustrzanki oraz obiektywy do nich, więc modele bezlustrowe nie muszą przypominać małych lustrzanek.
    Dlatego są takie małe. :)

  53. robinp
    robinp 26 kwietnia 2010, 09:24

    Tomato - masz rację! Ale ze smutkiem chyba musimy stwierdzić, ze wiekszość współczesnych uzytkowników zaawansowanych systemów fotograficznych nie ma bladego pojecia, kim był Ansel Adams, czy opracowana przez niego metoda pomiaru strefowego. Ale przede wszystkim wiekszosc nie ma zielonego pojecia o jego rewelacyjnych pracach, podobnie jak o pracach Newtona, ze o Bułchłaku nie wspomne :) I niestety, poza moze i rozległą wiedza na temat szumów, matryc, BF, FF, lusterek i ich braku, jakoś nie "atakują" mnie rewelacyjne zdjęcia na wystawach, konkursach czy łamach, a bedace autorstwa tych mas "Sróbkologów", o ogromnej wiedzy...

  54. tomato
    tomato 26 kwietnia 2010, 09:46

    'fotografa interesuje to co przed aparatem' swiete slowa! dopowiedzialbym jeszcze - interesuje go to, jak on te rzeczywistosc jest w stanie/chce przedstawic i to za pomoca instrumentu, ktory ma mu w tym pomoc. dlatego tak wazny jest jak najlepszy podglad obrazu, jak najwieksza kontrola tego co za chwile zostanie uwiecznione, im wieksze lusterko i matowka tym komfort wyrazniejszy. dlaczego MF nie umarl? ano stad chocby wlasnie. porownajcie matoweczke nikona d70 z matoweczka analogowego nikona f3 czy fm2. a to wciaz tylko maly obrazek... potem wezcie do reki MF... ;)


  55. lennykrawiec
    lennykrawiec 26 kwietnia 2010, 09:46

    wercio, co z tego że w wizjerze zobaczysz piękne naturlane kolory, skoro aparat i tak nie odwzoruje tych barw. A dobry wizjer bedzie w stanie pokazać to, co rzeczywiście rejestruje aparat.

  56. tomato
    tomato 26 kwietnia 2010, 09:54

    jesli kto nie czuje potrzeby korzystania z lustrzanek, niechze nie korzysta... i nie wypowiada uwag w stylu 'przezytek'... to ze powstaly olympusowe zdjecia pieknych aktow pana Wantucha czy fakt, ze Beksinski uzywal olympusow nie oznacza zbednosci lustrzanek. im bylo tak wygodniej. innemu fotografowi potrzebna jest wygoda... i caly dynks w tym aby kazdy mial wybor i mogl poslugiwac sie narzedziem jakiego potrzebuje dla osiagniecia maks efektow swojej pracy/wiedzy.

  57. tomato
    tomato 26 kwietnia 2010, 09:57

    ... potrzebna jest inna wygoda... mialo byc... eh pospiech...

  58. Piotr_0602
    Piotr_0602 26 kwietnia 2010, 10:18

    E-5? Po co? Jak bezlusterkowce się rozwiną, to lustra będą miały racje bytu tylko dla dłuuugich tele, może przy FF. Standardowy zakres obsłużą mniejsze i poręczniejsze bezlusterkowce. Jeśli będą miały matryce o rozmiarach od 4/3 do APS, po co komu lustro z taką samą matrycą dla standardowych ogniskowych?

    E-5? Racje bytu będzie miał tylko z długaśnymi tele, ale tu by Olek musiał wypuścić coś jeszcze niż 50-200 f/2.8-3.5 oraz ultradrogie 300/2.8 i 90-250 f/2.8. Może jakiś 100-300 f/4 lub 400 f/5.6? A i nadal przydałaby się w E5 jakaś technologia (3xCCD?) która da coś więcej niż potrafi Panasonic GH1.

    Sony chyba nie udało się skurczyć (jak Olkowi) stabilizacji matrycy tak by upchnąć ją w małym NEX-ie. Stąd jeszcze większe uznanie dla Olka, jego malutki EPL1 ma stabilizację matrycy (a to duży plus w tak małym, więc podatnym na drgania, body). Ale ostatnie softwarowe wynalazki Sony (HDR, panorama) robią wrażenie - to naprawdę użyteczne rzeczy, lepsze od wykrywania twarzy.

    Jeśli plotki o nowych szkiełkach dla Samsungowego NX się potwierzą, a Sony wiosną wypuści wreszcie dwa NEX-y (z perspektywą na więcej niż dwa obiektywy) to bezlusterkowa rewolucja nabierze tempa i skończy się monopol micro43. Olek z Panasem obniżą ceny i będą zmuszeni do wypuszczenia większej ilości obiektywów. Gdyby Pentax dołączył do micro4/3... drżyjcie lustrzanki! Jeszcze Fuji do tego dołączy, może Sigma... Mocarstwa Nikona i Canona zacznią być zagrożone. Jak nie nadgonią i nie opracują szybko swojego bezlusterkowca, czeka nas duże przetasowanie na rynku foto.

  59. Yura
    Yura 26 kwietnia 2010, 10:20

    @tomato - argument o świetlanej przeszłości lustrzanek to argument przeciw nowym technologiom? Naprawdę?
    I naprawdę myślisz, że Adams o prewizualizacji zdjęcia myślał w kontekscie jakiegokolwiek wizjera? Poważnie? Jak to robisz - prewizualizujesz zdjęcie z aparatem przy oku? - to już nie jest prewizualizacja. O prewizualizacji mowa wtedy, kiedy aparat cicho siedzi w torbie.
    A takie rzeczy jak HDR itp chyba zwiekszają mozliwosći prewizualizacji, czyż nie? Pomyśl co by Adams mógł zaprezentować gdyby miał pod ręka mozliwość wykonywania HDRów takich jak dziś...

    @wercio - O jej! Widać tylko 7 bitów? Straszne. Szkoda, że monitor pokazuje 8 bitów... ...kineskopowy, z LCDkami sprawa wygląda gorzej. W JPGu też tylko 8 bitów zapiszesz...

    @archangelgabrys - to jaki jest rozmiar matrycy w bezlusterkowcu, jest uzależnione tylko i wyłącznie grupą docelową do której jest skierowany taki aparat. Naprawdę nie wyobrażam sobie powodu, żeby kiedy po usunięciu chorób wieku dziecięcego vide wizjer, nie zbudować bezlusterkowca MF.

  60. archangelgabrys
    archangelgabrys 26 kwietnia 2010, 10:27

    @Yura

    Zgadzam się, można i MF stworzyć w technologii bezlusterkowej. Chodzi mi tylko o to, że założenia firm tworzących bezlusterkowce opierają się o wygodę i poręczność znaną z kompaktów, a możliwości znane z lustrzanek. Skoro bezlusterkowiec ma być mały (jedynie Samsung i GH1 są zbliżone do lustrzanek), to mija się z celem ładowanie do niego pełnej klatki, nie mówiąc o MF (co będzie się wiązało z automatycznym zwiększeniem gabarytów). A więc, jeśli będzie wielkości lustrzanki, to zniknie główny atut niewielkiego rozmiaru i poręczności.

  61. 26 kwietnia 2010, 10:28

    wojcias: już Ci mówię jak działa AF w D90 podczas filmowania - WCALE. Jest tylko manualne ostrzenie. :) Zwróć uwagę na to, że AF w trybie LV działa na zasadzie detekcji kontrastu więc daleko mu do szybkości jakiej byśmy sobie wszyscy życzyli a kiedy matryca spora (jak np. w 5D mk II) to i głębia ostrości się zmniejsza, to i wymagania względem AF większe, to i czas ustawienia ostrości względem takiego GF1 z mikrą matrycą gorszy. Tylko, czy w 5D mk II można aż tak narzekać? :)

  62. 26 kwietnia 2010, 10:32

    Wracając jeszcze do plotek. Mnie również się wydaje, że Nikkor 70-200 F/4 to bardziej pobożne życzenie użytkowników niż konkretne plany firmy. Poza tym jestem pewien, że kiedy to szkło już się pojawi i będzie na podobnym poziomie (zarówno optycznym jak i mechanicznym) co jego odpowiednik od Canona to cena tego Nikkora i tak będzie dwukrotnie wyższa. Nie wierzę, że będzie kosztował mniej niż 4500zł. To nadal poza zasięgiem większości zwykłych zjadaczy polskiego chleba. :(

  63. lennykrawiec
    lennykrawiec 26 kwietnia 2010, 11:35

    System 4/3 od początku skazany był na porażkę. Zapowiedziane plusy systemu okały się być obietnicami bez pokrycia - obiektywy winietują, nie są wyraźnie mniejsze, a jakość obrazu jest niższa niż w przypadku aps-c. Tak naprawdę głównym minusem systemu jest... posiadanie lustra. Bo właśnie przez lustro nie da się zmniejszyć obiektwywów i uniknąć winietowania w rozsądny sposób.

    Co innego micro4/3. Usunięcie lustra sprawia, że zmniejszamy korpus, a jeszcze bardziej zmniejszamy obiektywy. I nagle możliwe jest zrobienie boskiego Panasonic 20mm F1.7 ASPH i innych podobnych szkieł, których nikt wcześniej nie wyobrażał sobie w tak małej formie. To wreszcie ma sens, pod warunkiem, że zejdą z cen. Bo jeśli plotki o niskiej cenie bezlusterkowca Sony z naleśnikiem okażą się prawdą, to przy obecnej polityce marketingowej Sony, Olympus nie znajdzie klientów, bo nie umieją się tak reklamowac i przepychać.

    Ja czekam na NEX-a, jak będzie spełniał moje wymagania to od razu sprzedaje lustro i szkiełka i wchodze w to. A jak nie, to może wspomniany Panasonic przekona mnie do micro4/3 :)

  64. 26 kwietnia 2010, 12:01

    @Robinp - masz rację, większośc osób dziś zajmujących się fotografią nie ma pojęcia, kim był Adams, nawet jeśli widzieli kiedyś, gdzieś, któreś z jego dzieł... Przyznam się, że sam wiele lat temu widziałem po raz pierwszy "Moonrise, Hernandez" i podziwiając fotkę, nie miałem bladego pojecia, kim jest autor? Uważasz, że powinienem urodzić się z tą wiedzą? Pierwsze zdjęcie zrobiłem Smieną mojego ojca, gdy miałem 12 lat. Od tego czasu fotografuję: amatorsko, hobbystycznie, zawodowo. O Adamsie poczytałem po raz pierwszy w wieku lat bodaj 18. Uważasz, że dopiero od tego czasu mam prawo uważać się za fotografa? Czy może od momentu, gdy zarobiłem na fotografii pierwsze pieniądze, w wieku lat 16? A może jestem lepszym fotografem, niż wielu innych, bo potrafię sam wywołać film, przeforsować go swiadomie i wiem, do czego służ powiększalnik? A może gorszym, bo mam Pentaxa zamiast FF Canona?
    Do czego zmierzam - rewolucja cyfrowa sprawiła, że kreatywna fotografia staje się dostępna dla mas. Lustrzanki tanieją, pojawiają się kompakty o olbrzymich mozliwościach, ciemnię, koreks i powiększalnik zastąpił komputer i srodowiska programowe, w których młodzi ludzie czują się doskonale... Zmieniają się media - zdjęcie, które zrobię za chwilę przed domem mogę opublikować 5 minut później, nie zdając się na fochy i łaskę wydawcy czy fotoedytora, bo mam swojego bloga i konto na forach społecznościowych...
    Świat się zmienia, już nigdy nie będzie taki, jak za Adamsa. Czy jest gorszy? Nie, jest inny. Czy dzisiaj trudno znaleźć w mediach dobrą fotografię? Nie, dobrych zdjęć jest tyle samo, co kiedyś, może nawet więcej. Tylko mediów mamy dużo więcej. Nie ma co narzekać, takie rewolucje dzieją się ciągle ;-)

  65. Blackman
    Blackman 26 kwietnia 2010, 12:02

    lennykrawiec, na jakiej podstawie piszesz, że jakość obrazu jest niższa w 4/3 od aps-c ? szkła olympusa rysują świetnie, są bardzo dobrze wykonane, nie mam zarzutów do tego systemu - obraz bardzo, bardzo dobry. Jak ktoś nie potrzebuje wysokiego czystego iso to nie doradziłbym innego zakupu jak tylko systemu olympus-a.
    Co do m4/3 to nie wiem czy coś jest w stanie przebić gh1 którą stawiałbym na pierwszym miejscu, bądź bardziej budżetowego pl1, który jest wart swojej ceny. Nie wiem po co czekać na nex-a skoro już wiadomo, że będzie słabszy a znając politykę cenową tej firmy wcale nie będzie tańszy...

  66. archangelgabrys
    archangelgabrys 26 kwietnia 2010, 12:21

    @Blackman

    "Nie wiem po co czekać na nex-a skoro już wiadomo, że będzie słabszy"

    A skąd wiadomo, jak nawet jeszcze sampli w necie nie ma?

  67. Blackman
    Blackman 26 kwietnia 2010, 12:43

    @archangelgabrys
    Brak stabilizacji, brak gorącej stopki, samym CMOS-em nie da się zrobić rewolucji, optyka najprawdopodobniej będzie od sony więc też nawet nie dorównująca do tego co dają w penach...

  68. bezeder
    bezeder 26 kwietnia 2010, 12:45

    @archangelgabrys - no właśnie ja do końca nie jestem przekonany czy mniejsze rozmiary to ma być przewaga bezlusterkowców - tak postuluje producent ale dla pewnej grupy docelowej. Kowalskiego nie interesuje nie poruszanie się tylnej soczewki przy zmianie ostrości co m.in, ma zapewnić telecentryczność, tylko czy to to za duże nie jest.
    Jak dla mnie małe rozmiary to tylko "chłyt marketindody". Przecież jest mnóstwo rzeczy, które reklamuje się w taki, a nie inny sposób, co niekoniecznie musi być ich głównym atutem, czy w ogóle argumentem, wiec dlaczego miałoby być inaczej z bezlusterkowcami. Dla bezlusterkowców małe rozmiary wogóle nie muszą się pojawiać jako argument - jest mnóstwo innych powodów dla których posiadają przewagę nad lustrem - brak lustra to chyba najważniejszy.

  69. archangelgabrys
    archangelgabrys 26 kwietnia 2010, 13:03

    @Blackman

    "Brak stabilizacji, brak gorącej stopki"
    Stabilizacja będzie w obiektywach, do nikonowców brak stabilizacji w body nie przemawia. Tutaj jest podobna sytuacja. Z gorącą stopką rzeczywiście jest krucho, ciekawe jak to rozwiążą? Lampy trzeba przecież jakoś podpinać, w ciemnych pomieszczeniach zewnętrzna lampa jest jeszcze bardziej istotna niż parametry aparatu! Może chociaż dadzą tą stopkę-wynalazek z Dynax/Alpha, akcesoria pod to są. Coś przecież muszą dać :)

  70. archangelgabrys
    archangelgabrys 26 kwietnia 2010, 13:10

    Ahh, zresztą jest napisane:

    "Ta ostatnia (lampa błyskowa) ma być dokładana w zestawie i będzie podłączana przez złącze hot-shoe."

    Czyli po temacie :) Gorąca stopka będzie.

  71. lennykrawiec
    lennykrawiec 26 kwietnia 2010, 13:12

    Narazie to jedynie plotki :)

  72. lennykrawiec
    lennykrawiec 26 kwietnia 2010, 13:15

    Swoją drogą: link

  73. tomato
    tomato 26 kwietnia 2010, 13:32

    > Yura

    mnie chodzi wylacznie o to aby kazdy mogl wedle swoich potrzeb, preferencji, wygody a nie w imie jedynie slusznej drogi inzynierskiej... :) jednym nie pasi zwierciadlo i robia dobre foty innym nie pasi lekki pipsztok i tez robia tak samo dobre foty... dziwi mnie tylko usilne przekonywanie sie nawzajem, ze cos nie ma technologicznego sensu... lepiej isc robic foty. i tylko cieszyc sie tym, ze mozna robic je 'po swojemu', czym kto ma. :)

  74. AM
    AM 26 kwietnia 2010, 13:49

    Ależ to oczywiste, ze lustrzanki odejdą do lamusa. Przecież to tylko taki kompromis, który sprawdza się na małym obrazku. Jak duże matryce stanieją to producenci nie będą się bać eksperymentów i powyżej 35mm nie zobaczymy lustra bo po co? Lustro w średnim formacie ma racje bytu tylko w fotografii studyjnej ludzi. Można co prawda się uprzeć i robić wildlife albo sport pentaxem 67, ale to wymaga sporych umiejętności a elektroniczny wizjer wiele by ułatwił - przyspieszyć elektronikę można - mechaniki już nie bardzo.
    No a luster 35mm będą używać amatorzy wielkich plecaków ze szkłami i reporterzy.

  75. Szabla
    Szabla 26 kwietnia 2010, 14:10

    Przesada z tym lamusem. W klasie amatorskiej prawdopodobnie tak, ale w perspektywie kilku lat.
    W klasie zawodowej - długo nie.

  76. ato7
    ato7 26 kwietnia 2010, 14:15

    @Szabla:
    "Właśnie Sony z zoomem jest znacząco mniejsze od lustrzanki. Olympusy są wyraźnie większe,"
    Skąd te informacje? Ja słyszałem że zarówno zoom jak i naleśnik są większe. I patrząc na Samsunga to dokładnie tak to wygląda. Prawdopodobnie małych, jasnych zoomów pod APS-C nigdy nie zobaczymy.

    Dyskusje nt. lustrzanek vs. bezlustrzanek - bezsensowne. Liczy się tylko to, czy aparat RAZEM z obiektywem jest mniejszy, oraz czy AF jest równie szybki. Sam wizjer za 2-3 lata będzie nie do odróżnienia od optycznego. Zarówno Panasonic (G-1) jak i Samsung nie są dużo mniejsze z ich zoomami. Zyskuje się 150g ale aparatu do kieszeni i tak się nie włoży. Olympus i GF-1 od biedy z naleśnikiem się da.
    Najmniejsza FF jest Leica - ciekawe jaki koszt jest dostosowanie sensora do tak małej odległości od obiektywów...

  77. +++
    +++ 26 kwietnia 2010, 14:42

    Pomyśleć, ze kiedyś po prostu robiono zdjęcia, a teraz dyskutuje się o aparatach :))) Opamiętania teoretycy i specjaliści od dzielnia włosa na czworo :)))

  78. Szabla
    Szabla 26 kwietnia 2010, 15:07

    ato7, uwierz mi na słowo :-)

  79. lennykrawiec
    lennykrawiec 26 kwietnia 2010, 15:32

    Lustrzanki to idiotyczne rozwiązanie z wielu powodów, ale dopracowane do granic możliwości. Ale nie zmienia to faktu, ze sama idea w dzisiajszych czasach jest poprostu nie na miejscu.

  80. costi
    costi 26 kwietnia 2010, 16:16

    A czemu niby lustrzanki sa bez sensu? Nie ma innej technologii, ktora zapewni taka jakosc obrazu w wizjerze i, co IMHO duzo wazniejsze, tak niskie opoznienie robionego zdjecia.

    Za 10 lat moze, jak wizjer elektroniczny dorowna optycznemu, a aparat kompaktowy bedzie sie wlaczal rownie krotko, co lustrzanka, i rownie krotko bedzie myslal miedzy jednym "pstrykiem" a drugim.
    Na chwile obecna zaden aparat nie spelnia tych kryteriow.

    A tak z innej beczki: nie wiem, czemu wszyscy forsuja male rozmiary jako zalete. Ja nie chce miec malego aparatu, dla mnie idealne gabaryty ma Nikon D300, moge go porzadnie chwycic, wygodnie robi mi sie nim zdjecia, wszystkie istotne funkcje mam w postaci przyciskow czy pokretel na body i na dobra sprawe nie musze odrywac oka od wizjera, zeby przestawic parametry. Z drugiej strony, nie znosze malenkich kompaktow, ktore trzeba trzymac koniuszkami palcow i zeby cokolwiek z nimi zrobic, to trzeba sie palowac z menu albo zmieniac chwyt na aparacie. Juz nie wspominam, ze mysla, w porownaniu z owym Nikonem D300, cale wieki.

  81. lennykrawiec
    lennykrawiec 26 kwietnia 2010, 16:50

    Proszę bardzo - oto dlaczego lustra są nietrafioną ideą.

    Największa wadą lustrzanek jest stopień skomplikowania. Układ luster, migawka, wizjer - to wszystko mechanika precyzyjna, która z jednej strony jest droga w produkcji, bo składa się z wielu drobnych elementów które muszą przy tym być sterylnie czyste. Wymaga kalibracji, idealnego spasowania itd (dlatego nie wszędzie mamy wizjery ze 100% pokryciem kadru - tylko w najdroższych modelach). Przy montażu muszą być zachowane szczególne normy dotyczące czystości i precyzji, co z drugiej strony przekłada się na ograniczoną wytzrymałość - mechanika ma to do siebie, że psuje się z powodu zmęczenia materiału, poprostu od pracy, nawet właściwej; z drugiej strony jest to system bardzo nieodporny na wstrząsy, uderzenia i upadki.
    Jest to również układ o ograniczonej prędkości działania - z tego wynika bez wyjątków kiepska szybkostrzelność i jeszcze gorsza synchronizacja z błyskiem. Nie oszukujmy się, ale 10 fps dostępne w modelach kosztujących kilkanaście tysięcy złotych to nędza w porównaniu do kosztujących mniej niż 1000zł kompaktów Sony, dających podobną prędkość w pełnej rozdzielczości. Zrobiło to Sony, zrobią inni... Sony i ich kompakty typu HX-1, WX-1, HX5V (szczególnie) to aparaty które pokazują jakie możliwości daje usunięcie lustra (inteligentne tryby wykorzystujące szybkostrzelność - zdjęcia z ręki o zmierzchu, panorama itd...). Lustrzanka długo by tego nie wytrzymała, bo układ ma ograniczoną żywotność.
    Dalej w kwestii funkcjonalności - wideofilmowanie. W lustrzankach jets ono skupiskiem kompromisów. Największym jest brak możlwiości wykorzystania wizjera - bo lustro jets podnieisone by matryca mogła pracować. Kolejna sprawa to ustawianie ostrości - aktualnie nikt nie umie rozwiązać tego problemu. Podobnie jest ze sterowaniem przysłoną. Wszystkie te problemy można rozwiązac projektując nowy system bezlustrowy, gdzie obiektywy pozwalałyby na płynne sterowanie przysłoną i ostrością.
    Kolejna sprawa to wymiary - migawka, lustra, pryzmat, układ af potrzebują miejsca i odsuwają obiektyw od sensora. To z jednej strony przekłada się na wielkość body, z drugiej na wymiary szkieł.

    Może o czymś zapomniałem.

  82. lennykrawiec
    lennykrawiec 26 kwietnia 2010, 16:57

    Zapomniałem.
    Lustro wprowadza drgania, które przy braku stabilizacji matrycy mogą przekładać się na ostrość zdjęć.
    Poza tym nikt nie powiedizał, że bezlustrowce muszą być małe. Żaden problem zrobić korpus bez lustra o wymiarach D3, 1D itd... Żaden problem, ale na początku napewno targetem będzie rynek amatorski, więc puszki będą małe. Za to każdemu na rękę jest, żeby małe były obiektywy.
    Jeszcze jedno - czas reakcji na wciśnięce spustu czy częstotliwość odświeżania obrazu w wizjerze to nie problem. Kwestia czasu - napewno dawno mają to zrobione, ale od razu ideału wprowadzić na rynek nie można, bo trzeba produkt rozwijać, żeby klienta czymś skusić.
    Podobnie jest z układem af. Wszystko jest do zrobienia. Zobaczcie jak wyglądały pierwsze lustrzanki, jaką miały funkcjonalność, a jak sprawa wygląda dziś i pomyślcie o tym perspektywicznie, dziękuję za uwagę :)

  83. fotojendrek
    fotojendrek 26 kwietnia 2010, 16:58

    lennykrawiec: "jest to system bardzo nieodporny na wstrząsy, uderzenia i upadki"

    link

    ale to tak na marginesie :)

  84. lennykrawiec
    lennykrawiec 26 kwietnia 2010, 17:12

    fotojendrek, zobacz ile się popsuło od tego, że komuś torba z aparatem spadła z krzesła na dywan :p
    To wyjątek potwierdzający regułę... Generalnie lustrzanki są awaryjne i tyle.

  85. fotojendrek
    fotojendrek 26 kwietnia 2010, 18:15

    lennykrawiec: to było oczywiście w kategorii "żart" :) bezlusterkowce mają na tyle dużo zalet że będą się umacniać na rynku ...

  86. AM
    AM 26 kwietnia 2010, 18:47

    costi,
    piszesz o malym obrazku i tutaj faktycznie lustra beda obowiazywac jeszcze dlugo. D300 to maly aparat. Popracuj Pentaxem 67 - to jest duzy aparat i wywalenie lustra ulatwi wiele spraw.

  87. pmazur
    pmazur 26 kwietnia 2010, 18:50

    Przez ostatnie lata naczytałem się opinii że w lustrzankach APS-C jest rozwiązaniem tymczasowym i kiedy FF stanieją to odejdą do lamusa i co?
    To na APSy stawiają producenci (np. C7d) a FF to produkt niszowy - zarezerwowany dla produktów PRO.

    W obecnych czasach korporacyjnej "optymalizacji kosztów" jeśli będzie jakaś rewolucja w temacie bezlustrzanek to tylko dlatego, że pozwoli to producentom obniżać koszta :-)
    Bo przecież celem korporacji jest zysk a nie rozwijanie nowych technologii o czym niektórzy "wyrażacze pobożnych życzeń" zdają się czasem zapominać...
    Czy producentów obchodzi czego chcą użytkownicy? NIE! Liczy się tylko sprzedaż i bardziej się opłaca wykreować potrzebę na na posiadaną technologię (kompakty XXXXMpix) u klienta masowego niż zaspokajać potrzeby wyrażane przez małą grupkę "dinozaurów".

    Matryce powyżej 35mm? Zjem własne kapcie jak się pojawią na rynku masowym!
    To już prędzej 500Mpix na 1/4' i kampania marketingowa, że właśnie tego potrzebujecie.

  88. ato7
    ato7 26 kwietnia 2010, 19:40

    prawda jest taka, że obecna sytuacja daje szansę mniejszym producentom na wejście
    - ponieważ WSZYSCY muszą teraz wprowadzić nowe bagnety i nowe obiektywy. Ciekawym efektem może być
    raptowna wyprzedaż "starych" lustrzanek. Dla producentów to świetna wiadomość - ludzie przestaną
    handlować starymi obiektywami, producenci po przestawieniu linii produkcyjnych zakończą produkcję
    amatorskich lustrzanek. Lustrzanki dla zawodowców pozostaną (zawodowcy nie mają problemu z rozmiarami i wagą), ale będą drogie - bo będzie się ich mniej produkować. Oczywiście niektórzy mogą skonstruować bagnet jeszcze mniejszy i wybrać sensor mniejszy - i chyba takie wyjście wybiorą Canon i Nikon. Oni mają najwięcej do stracenia, więcej jeszcze jakiś czas będą kontynuować produkcję małych lustrzanek APS-C, a równolegle promować "mikrusy".
    Główną wadą mniejszych sensorów będzie oczywiście duża głębia ostrości... ale - to da się pewnie obejść softwarem (sklejenie kilku ekspozycji z "rozmytym" tłem)

  89. EuroLiberty
    EuroLiberty 26 kwietnia 2010, 19:43

    @pmazur APS-C z entry level nie zniknie. Widać, to po stale rozwijanej linii tanich, ciemnych i plastikowych obiektywów dla APS-C. Natomiast z segmentu semi pro już nie byłbym taki pewien. Żaden producent nie rozwija linii obiektywów pro i semi pro dla APS-C.

  90. krzpob
    krzpob 26 kwietnia 2010, 19:59

    Tym którzy bredzą że bezlusterkowce to co najwyżej matryca APS-C przypominam że Leica M9 jest bezlusterkowcem i ma matryce FF.
    A ja czekam na dalmierzowca w cenie hybrydy/lustra entry-level z matrycą chociaż aps-c

  91. archangelgabrys
    archangelgabrys 26 kwietnia 2010, 20:16

    Leica M9 to ewenement dla bogaczy. Do tego dalmierz, czyli jeszcze nieco inna bajka.

  92. noeee
    noeee 26 kwietnia 2010, 20:27

    Canon lub Nikon wystarczy że opracują aparat bezlustrowy - z bagnetem dla obecnych szkiełek i skasują cały rynek ...
    a dlaczego jeszcze tego nie zrobili ?
    pewnie dlatego że jeszcze nie pora i warto podusić rynek z kasy w starej technologi ... - a jak wejdzie nowa -za 3-5 lat to i tak wszyscy będą zmieniać puchy na bez lustrowe - zarobią 2x
    oczywiście wtedy ogłąszą oficjalną rewolucję ;) - zobaczycie za 5 lat co się będzie działo

  93. wercio
    wercio 26 kwietnia 2010, 20:27

    @Yura w RAW masz 12 lub więcej bitów, więc podgląd 7 bitów nic nie znaczy. Masz też monitory wysoko gamutowe. Jeśli dla Ciebie istnieje tylko jpg, to informuję Cię, że są lepsze formaty zapisywania obrazów. 7 bitów w wizjerze to na dzień dobry spłaszczenie dynamiki, którego nie ma w zapisie w RAW. Jak chcesz pstrykać statyczne widoczki w pochmurny dzień to dla Ciebie wizjer elektroniczny jest ok, inni mają większe wymagania.

  94. Euzebiusz
    Euzebiusz 26 kwietnia 2010, 20:39

    "nawet oferujące rewelacyjną jakość A550 czy K-x nie oferują aż tyle co D3s" - no tak

  95. Yura
    Yura 26 kwietnia 2010, 21:02

    @wercio - ale co ty chcesz mi powiedzieć swoim ambitnym postem? :) Że posiadasz tajemną wiedzę na temat tego czym się różni JPG od RAWa? Chcesz mi powiedzieć, że wizjer elektroniczny przeszkadza, ja nie rozumiem, aby zapisać RAWa? :) Naprawdę tak uważasz? :D
    I o jakich monitorach mówisz? Co ma wspólnego tzw. gamut z ograniczeniem 8 bitów na kanał?!
    Wercio, ja mam wrażenie, że ty nie masz bladego pojęcia o czym mówisz :D

  96. tomek76k7
    tomek76k7 26 kwietnia 2010, 21:21

    Mi się wydaje że SONY będzie lepsze niż olek i panas

    Premiera obejmie 2 modele – NEX 5 i NEX 3, z których tańszy, NEX 3, wraz z naleśnikiem 16mm ma być tańszy niż samo body Olympusa PL-1, czyli mniej niż 2300zł (dla porównania – PEN to 2900zł, PEN2 to 3800zł w dniu premiery za sam korpus).

    Nowe korpusy będą sprzedawane z obiektywami o wysokiej jakości, zauważalnie lepszymi niż te Olmypusa i to nie tylko ze względu na jakość optyczną, ale również wykonanie – wszystkie nowe obiektywy mają być… chromowane! Co do ogniskowych: Oprócz 16mm naleśnika będą dwa zoomy: 18-55 i (tutaj nie do końca pewna informacja: ) 18-200.

    Adaptery do bagnetu E będą umożliwiały podłączenie obiektywów z bagnetem A wraz z przeniesieniem AF.

  97. Bilbo
    Bilbo 26 kwietnia 2010, 21:29

    "Główną wadą mniejszych sensorów będzie oczywiście duża głębia ostrości... ale - to da się pewnie obejść softwarem (sklejenie kilku ekspozycji z "rozmytym" tłem)"

    oczywiście :) a dla mnie i dla wielu największą wadą dużych matryc jest MAŁA głębia ostrości.

  98. tomek76k7
    tomek76k7 26 kwietnia 2010, 22:00

    tu można zobaczyć zdjęcia SONY NEX-3
    link

  99. nazgul
    nazgul 26 kwietnia 2010, 23:58

    Jeśli Hoya wejdzie na rynek 4/3 to nie sadzę, aby na ewentualnym aparacie w tym systemie pojawiło się logo Pentax...

  100. jaad75
    jaad75 27 kwietnia 2010, 00:22

    @EuroLiberty "Żaden producent nie rozwija linii obiektywów pro i semi pro dla APS-C." Pentax rozwija...
    @Bilbo "a dla mnie i dla wielu największą wadą dużych matryc jest MAŁA głębia ostrości. " A jak wielu was tam jest?...:P

  101. tomato
    tomato 27 kwietnia 2010, 01:04

    taka sobie mysl nad ta cala dyskusja 'co jest bardziej >jedynie sluszne

  102. tomato
    tomato 27 kwietnia 2010, 01:06

  103. tomato
    tomato 27 kwietnia 2010, 01:09

    nie kazdy bedzie pozadal ani czul sie komfortowo w seicento... chocby nie wiem jakie 'ficzery' mialo czy tez silnik...

  104. wercio
    wercio 27 kwietnia 2010, 01:15

    @Yura nie możesz zrozumieć prostej rzeczy? No cóż, to nie moja wina. Mam trzeci raz pisać, że na razie wizjer elektroniczny to zabawka, która nie pozwala w pełni ocenić tego co jest przed obiektywem? Do śłitaśnych fotek to starczy, niektórzy mają jednak inne wymagania.

  105. Yura
    Yura 27 kwietnia 2010, 07:44

    @tomato - moim zdaniem zupełnie nietrafne porównanie. Bardziej pasuje tu porównanie, że lustrzanka i bezlusterkowiec, to dwa samochody sportowe z takim samym sinikiem (matryca), teoretycznie mające podobne osiągi, z tą różnicą, że lustrzanka została poddana wiejskiemu tuningowi, który ją spowalnia (lustro), a dalsze pokręcanie silnika grozi jego regularnym przegrzewaniem (brak perspektyw), oczywiście ma zainstalowane nitro, ale to działa tylko na prostych (LV, filmowanie). Aha - cholernie dużo pali, a jedynym jego atutem jest to, że technologia opon których używa była dopracowywana przez dziesiatki lat.
    Natomiast bezlusterkowiec, to taki sam samochód, tylko że aerodynamiczy (bez lustra), zawieszenie pozwala, na skonstruowanie wielu modeli samochodów do różnego zastosowania (perspektywy rozwoju), wspaniale się spisuje jak na prostych tak i na zakrętach, mało pali, a jedyną jego bolączką jest to że wykorzystuje eksperymentalny rodzaj opon, które jeszcze muszą być dopracowane.

    @wercio - rozumiem, że twoje wymagania są odwrotnie proporcjonalne do twojej wiedzy :) A szkoda, bo zazwyczaj tym z ogromnymi wymaganiami, zazwyczaj nie potrzeba żadnego wizjera :) Tym bardziej twoje argumenty nijak nie poparły tego, że "wizjer elektroniczny to zabawka" :)

  106. lennykrawiec
    lennykrawiec 27 kwietnia 2010, 09:47

    tomato, ja się zastanawiam dlaczego ludzie nie potrafią zrozumieć tego, że bezlusterkowce mogą być duże, mogą być wygodne, mogą być ciężkie. A z braku lustra wynikają same plusy i zapewne wizjer elektroniczny z czasem okaże się być lepszy od tradycyjnego.

  107. Sky_walker
    Sky_walker 27 kwietnia 2010, 10:01

    tomek76k7 | 2010-04-26 21:21:22 - jeśli przyklejasz teksty z innych stron internetowych to wstawiłbyś chociaż źródło ;) oryginał: link

  108. ato7
    ato7 27 kwietnia 2010, 10:24

    @tomek767 "Nowe korpusy będą sprzedawane z obiektywami o wysokiej jakości, zauważalnie lepszymi niż te Olympusa" - rozumiem że już testowałeś - może wrzucisz linka. W innym przypadku siejesz propagandę.
    Co do niskiej ceny - możliwe, Sony wydaje potworne pieniądze i ponosi straty "kupując" rynek. Natomiast
    system realnie można oceniać po liczbie dostępnych obiektywów - więc na razie nie ma o czym w ogóle mówić.
    Dopóki nie pojawią się UWA do Samsunga, Sony, macro i portretówka, to nie ma nawet o czym dyskutować.

  109. 27 kwietnia 2010, 10:53

    ato7, serio myślisz że większość "targetu" na te bezlustrowce oczekuje UWA, macro i portretówki? 90% potrzebuje kita ekwiwalent 28-300, ewentualnie dwa kity w tym zakresie.

  110. lennykrawiec
    lennykrawiec 27 kwietnia 2010, 10:54

    Dla mnie wystarczy, że zrobią taki zestaw jasnych stałeczek:
    24mm f/1.8
    35mm f/1.8
    50mm f/1.8
    Ewentualnie mogą być w wydaniu ze światłem f/2, ważne, by zachowali rozsądne wymiary i cenę.

  111. Szabla
    Szabla 27 kwietnia 2010, 12:51

    ato7, sorry, ale jeżeli myślisz, że Sony dokłada do biznesu, "kupując rynek" to nie masz pojęcia o rynku.

  112. Raflus
    Raflus 27 kwietnia 2010, 14:54

    nowy system powiadacie :) tylko firmy robią to dla kasy. Na miejscu Nikona, Pentaxa czy Canona bym wyciągnął po prostu lustro ze środka i resztę zostawił, nie trzeba było by się bawić w czekanie na nowe obiektywy gdyby stare działały, nie trzeba by się męczyć z małym aparacikiem, tylko zalepić dziurę do wizjera. tak pewnie uczynią i wtedy np. d90mirror less będzie kosztował mniej niż te dziwne hybrydy, które teraz nam prezentują S P O.

  113. lennykrawiec
    lennykrawiec 27 kwietnia 2010, 17:03

    Raflus, ale to nie tędy droga. A żaden problem dać ludziom adapter z obsługą af.

  114. ato7
    ato7 27 kwietnia 2010, 17:15

    Moi znajomi chętnię kupią lustrzankę zamiast kompaktu:
    - chcą robić portrety dzieciom z płytką głębią ostrości
    - chcą UWA szersze niż 24mm do krajobrazów
    - chcą szybszy AF
    - nie chcą nosić lustrzanki
    Czyli na razie nie mogę im polecić żadnej bezlustrzanki, poza może GF-1 z naleśnikiem + m9-18mm.

    @Szabla: oczywiście, zapewne nie mam pojęcia o rynku, możesz mi pokazać raporty jakie to wielkie zyski Sony przez ostatnie lata osiągało? I jak bardzo dział aparatów im w tym pomógł? Żarcik...

  115. tomato
    tomato 27 kwietnia 2010, 19:52

    od kiedy to ewolucja chodzi logicznymi i przewidzanymi sciezkami?
    Lennykrawiec, Yura, do momentu az wyswietlacze nie osiagna poziomu ukladow optycznych lustrzanki nie beda specjalnie zagrozone. Mysle o poziomie pro. Dopoki to nie nastapi zboczency i dinozaurzy jak ja moga wielbic lustra.

  116. Szabla
    Szabla 27 kwietnia 2010, 21:09

    ato7, cudów to nie ma. No, w Harrym Potterze tak, ale w biznesie - nie. :)))))))))))

  117. ato7
    ato7 27 kwietnia 2010, 22:57

    @Szabla - nie, cudów nie ma. Za standy w sklepach, za Wojciechowską, za design nowych obiektywów - za wszystko trzeba zapłacić. Nie, cudów nie ma.
    Podaj proszę zyski Sony z ostatnich lat. Pokaż jak świetnie udało im się zarobić na PS3 i lustrzankach. Nie możesz? Jaka szkoda..

  118. Szabla
    Szabla 28 kwietnia 2010, 12:40

    Nie mogę. Szkoda. :)
    Zapewniam Cię, że Sony zarabia na lustrzankach. Ba, robią to także pozostałe firmy. A im więcej robią, tym więcej zarabiają.
    Twoje przekonanie, że firmy latami dokładają do interesu jest budujące. Humanistyczne. :)))

  119. 29 kwietnia 2010, 10:03

    Fotografowie i Fotograficy!
    Po co tyle emocji? niech inni sobie zarabiają więcej lub mniej a zawsze można sobie samemu zdrobić ZENITA :

    link

    :)))) mocowanie wg uznania, solidnie bez tandetnego plastiku i pełen manual ;)

    pozdrawiam,

    P.S. tak na marginesie to bardzo ciekawe to "bicie piany" powyżej.

  120. 29 kwietnia 2010, 10:05

    poprawiam link
    link

  121. 29 kwietnia 2010, 10:05
Napisz komentarz

Komentarz można dodać po zalogowaniu.


Zaloguj się. Jeżeli nie posiadasz jeszcze konta zarejestruj się.