O tym się mówi, czyli plotki i ploteczki z ostatniego tygodnia
Mijający tydzień upłynął bez istotnych nowości. Plotek też niestety było niewiele i częściej pisano o tym, czego nie zobaczymy, niż o tym, co jeszcze zostanie zaprezentowane w bieżącym roku. My jednak tradycyjnie nie rezygnujemy z plotkowania – posłuchajcie więc o czym mówiono.
Uwaga! Poniższe informacje w większości nie są oficjalnymi informacjami producentów i pochodzą często z nieznanych i niepotwierdzonych źródeł.
![]() |
Canon
Profesjonalne kamery
Mówi się, że 3 listopada firma Canon zaprezentuje dwie nowe profesjonalne kamery filmowe z wymiennymi obiektywami, których cena ma wynosić ponad 10.000 dolarów. Pierwsza z tych kamer ma być wyposażona w bagnet Canon EF, a druga w bagnet Canon PL. Choć ta informacja wydaje się mało prawdopodobna, jedna z tych kamer ma mieć kwadratową matrycę o rozdzielczości 48 megapikseli.
Nie będzie więcej premier lustrzanek Canona w 2011 roku?
Jedna z plotek mówi, że w tym roku nie będzie premiery lustrzanki 5D Mark III. Wiele źródeł informuje za to, że w tym roku nie ma być już żadnych premier lustrzanek Canona! Dla odmiany jedna z plotek informuje, że Canon może zaprezentuje coś pod koniec grudnia, przed targami CES/PMA.
A co zobaczymy w 2012 roku?
Ponieważ w 2012 Canon będzie obchodził 25 rocznicę systemu EOS oraz będzie to rok olimpiady i mistrzostw Europy w piłce nożnej, Canon na początku roku (prawdopodobnie w lutym), przy okazji targów CES/PMA ma zaprezentować nową wersję swojej flagowej lustrzanki 1Ds. Dodatkowo przed targami Photokina mamy zobaczyć Canona 5D Mark III i następcę lustrzanki 7D. Jeśli chodzi o obiektywy to mówi się, że w rok 2012 mamy zobaczyć nową generację profesjonalnych obiektywów szerokokątnych.
Coś dla miłośników patentów
Serwis photographybay.com opisał jeden z patentów firmy Canon, który dotyczy konstrukcji obiektywów z pierścieniem dedykowanym do płynnej zmiany przysłony. Rozwiązanie to ma być pomocne szczególnie w lustrzankach wykorzystywanych do filmowania. Dodatkowo z załączonego schematu wynika, że zmiana przysłony będzie odbywała się elektronicznie (pierścień będzie sterował elektrycznym silniczkiem do jej zmiany), a nie mechanicznie. Na pokazanym poniżej rysunku, numerem 132 oznaczono nowy pierścień przysłony, a numerem 129 oznaczono przełącznik służący do włączania/wyłączania tego pierścienia.![]() Rysunek pochodzi z wniosku patentowego firmy Canon |
Nikon
Obiektywy Nikkor DX
Najbliższą premierą Nikona ma być kilka nowych obiektywów przeznaczonych dla lustrzanek z matrycami formatu DX. Oficjalna premiera ma nastąpić prawdopodobnie w drugiej połowie października. Wydaje się mało prawdopodobne, aby w tym samym okresie miały miejsce jeszcze premiery innych produktów. Pisze się także, że premiera ta ma być „cichą premierą”, bez konferencji prasowych i bez wielkich kampanii marketingowych (podobnie jak było w przypadku premiery obiektywu Nikkor AF-S DX Micro 40 mm f/2.8G). W najbliższym czasie nie należy spodziewać się także żadnych premier produktów przeznaczonych dla lustrzanek pełnoklatkowych.
Coś dla miłośników patentów
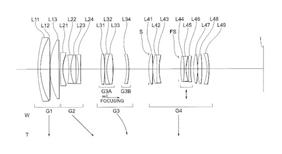
Wśród wniosków patentowych złożonych przez firmę Nikon udało się znaleźć dokumenty opisujące dwa nowe obiektywy. Pierwszy z nich, to tele zoom Nikkor 70–200mm f/4 VR II, opisany we wniosku patentowym numer 20110228407. Schemat tego obiektywu zaprezentowano poniżej.![]() Rysunek pochodzi z wniosku patentowego firmy Nikon |
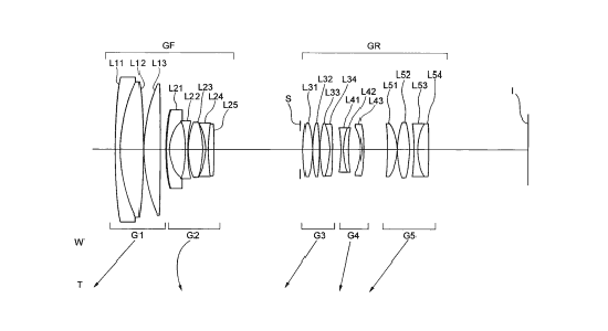
Drugi z obiektywów to uniwersalny mega zoom Nikkor 18–300mm f/3.5–5.6 z 15.7-krotnym zoomem i wyposażony w 3 powierzchnie asferyczne, opisany w patencie numer 2011186159. Schemat tego obiektywu także zamieszczamy poniżej.
![]() Rysunek pochodzi z wniosku patentowego firmy Nikon |
Panasonic
Następca modelu GH2 i profesjonalny GFx
Internetowy serwis techradar.com poinformował, że firma Panasonic nie planuje w tym roku następcy modelu GH2. Modelu tego możemy spodziewać się podczas przyszłorocznych targów Photokina i ma to być bardzo ważne wydarzenie dla Panasonika.Kilka miesięcy temu mówiło się, że Panasonic planuje podzielić Lumixy GF na linię konsumencką i linię profesjonalną. Model konsumencki, który reprezentuje Lumix GF3, już poznaliśmy, natomiast nowy model profesjonalnego GF-a Panasonic ma zaprezentować prawdopodobnie jeszcze przed premierą GH3.
Samsung
Elektroniczna migawka w NX20?
W następnych aparatach z serii NX (w modelu NX20?) Samsung prawdopodobnie zastosuje tryb elektronicznej migawki.
SLR Magic
Noktor 12 mm f/1.6 dla systemu mikro 4/3
Wiemy coraz więcej o planowanej premierze obiektywu SLR Magic Noktor 12 mm f/1.6 dla systemu mikro 4/3. Obiektyw ten ma posiadać następujące parametry:- ogniskowa: 12 mm,
- światłosiła: f/1.6 (najlepsze osiągi dla f/4),
- dystorsja ok 2%,
- minimalna odległość ustawienia ostrości: 0.15 m,
- przysłona zmieniana w 12 krokach,
- naniesiona skala głębi ostrości.
Komentarz można dodać po zalogowaniu.
Zaloguj się. Jeżeli nie posiadasz jeszcze konta zarejestruj się.















Optyczne.pl jest serwisem utrzymującym się dzięki wyświetlaniu reklam. Przychody z reklam pozwalają nam na pokrycie kosztów związanych z utrzymaniem serwerów, opłaceniem osób pracujących w redakcji, a także na zakup sprzętu komputerowego i wyposażenie studio, w którym prowadzimy testy.
O nie, znowu jakiś dx micro f/5,6 lens...
W tym roku nie ma być już żadnych premier lustrzanek Canona!!! Bomba!!!
To EF 50/1.4 II USM poproszę. Tylko co najmniej tak dobre optycznie jak Sigma. Bo by wypadało.
Ooooo nie zauważyłem ostatniej plotki - nowy NOKTOR !
Czyli kolejny epizod pod tytułem "Jak wyrwać kase od frajerów sprzedając im szkło od CCTV za 10x większą cenę niż normalnie"
:DDDDD
Nikkor 70-200/4 20 lat po Canonie. Lepiej późno niż wcale. Gratka dla najbardziej cierpliwych fanów.
No i dobrze ze nie bedzie zadnych nowych lustrzanek FX nikona (nie pisza ze bedzie, czyli nie bedzie). Zakupy odlozymy na przyszly rok. Tak trzymac.
Ciekawe ile szkiełek i jakie pokaże nicon.. może chociaż jedną szeroką stałeczkę ? :)
Hej, szczerze mówią jestem trochę rozczarowany formułą plotek. Myślałem, że informacje będą pochodziły z "dobrze poinformowanych źródeł" tzn. z przecieków i w ten sposób będzie można dowiedzieć się wyprzedzająco co w fotograficznym światku piszczy.
Aktualnie mamy coś na kształt pudelka, SE, itp. co tydzień sprzeczne ze sobą informacje. Może warto pomyśleć nad zmianą ??? Pozdrawiam czytelników i autorów "O tym się mówi ... " :-)
Skoro od niedawna jest 55-300, a amatorski 50-200 DX vr niezły, to raczej nie spodziewam się żadnego telezooma. Co prawda Nikkor nie ma odpowiedzi na C 70-200/4is ani na stareńkiego c100-400is, ale odpowiedzi nie mogą być w klasie APS-C. Skoro poprawiony jest już UWA zoom i po kilku latach nadal całkiem dobrze wygląda, to i tu niczego się nie spodziewam. 85/3.5 makro vr nie jest stary i też bym się zdziwił, gdyby go zmieniono. 85/1.4 właśnie wyszedł na fx. Na dx jest tani 35/1.8 i nadal jest chyba najlepszy. Wychodzi na to, że można
a) poprawić 16-85vr, bo nie odpowiada już poziomowi konkurencji. To moim zdaniem najbardziej oczywiste posunięcie. Zakres chyba zostanie taki, ew. wzrośnie do 16-105. Ew. wypuścić 18-135vr (ale przecież mamy niezły 18-200vrII) , ew. tylko poprawić 18-105vr (to drugie o tyle bez sensu, że sprzęcik jest dobry i bardzo tani)
b) może 85/1.8dx vr ? to by nie uderzało ani w 70-200/2.8 vr pod pełną klatkę, ani w 85/1.4 pod pełną klatkę, ani w 17-55/2.8 dx (inny zakres), ani nawet w 85/3.5 vr makro DX. f/1.8 a nie f/1.4 właśnie ze względu na tę 85/1.4 pod fx.
c) niedroga szeroka stałka, być może w wersji naleśnikopodobnej. Niestety będzie to raczej 18/2.8 (ekw. 27mm) albo nawet 24/2.8 (ekw. 36mm), podczas gdy ja chcę 12/2.8 (ekw. 18mm). Takie dwie stałki (12 i 85/1.8vr) poważnie wzmocniłyby i tak silną pozycję Nikona w segmencie zaawansowanego amatora, a ta 85mm przyjemnie
d) bardzo jest potrzebny 17-55/2.8 vr, ale Nikon chyba i tym razem go nie wypuści, sądząc z trendów cenowych. Zresztą poprawiająca się dynamika matryc nieco osłabia zapotrzebowanie na vr w tym sprzęcie,
@sektoid
Rozumiem, że istnienie nikkora 70-210/4 jest dla ciebie tajemnicą? Konstrukcja ma 26 lat.
Coś takiego jak dedykowany pierścień do płynnej zmiany przysłony powinien mieć każdy obiektyw. Tak jak wszystkie korpusy powinny umożliwiać płynną zmianę ISO... To by było coś fajnego. :)
Taki 70-200 f/4 vr w Nikonie by się przydał:)
@ bakajev
Porównanie starszego od węgla nikkora 70-210/f4 do nowoczesnego Canona z silnikiem USM jest mało sensowne.
Swoją drogą bardzo brakuje w systemie nikona czegoś pomiędzy amatorskim i w miarę tanim
AF-S 70-300 VR i drogim AF-S 70-200 mm f/2.8G VR. O piekielnie drogiej wersji 70-200/f2.8 VR II nawet nie wspominam. Oczywiście pozostaje 80-200/2.8 bez VR ale trzeba za niego beknąć jakieś 4 tys ewentualnie starą używaną i wolna pompkę za niecałe 2 tys.
70-200/f4 przywitałbym z otwartymi rękami tak w cenie pomiędzy 2,5-3 tyś zł. Ale znając życie i ceny jakimi raczy nas Nikon będzie równie "atrakcyjna" jak 24-120/f4 czyli w granicach 4 tyś zł
@Borat:
za 4k jest wersja AF-S 80-200. A taniej nie jest tylko stara i wolna pompka tylko też wersja "new" - czyli dwupierścieniowa. AF ma taki jak i inne szkła na śrubokręt - więc tu zależnie od puszki. Na Dxxx wolnym raczej to ciężko nazwać.
A wersja f4 - też stawiam na okolice 4000... Ale nic w tym dziwnego - ile kosztuje Canonowski 70-200/4 IS ?
@Krzyhoo - ale niektóre plotki się sprawdziły, a po za tym patenty to nie jakby "przecieki"..?
bzduury, 1ds będzie jeszcze w tym roku, pewnie w listopadzie. A 5d jeśli nie w tym roku to w ciągu poł roku po jedynce. I pewnie jak zwykle pokażą od razu jakieś 2 fajne szkła przy okazji. A póki co słońce zaczyna się chylić ku zachodowi więc zmykam na niedawno odkrytą miejscówkę na dachu :-)
noo i niezłe ruchy nikon, 70-200/4 dla amatora to podstawa. ;-)
@Nikoś - masz racje, w dzisiejszych ploteczkach jest dużo w miarę pewnych informacji (choć od patentu do masowej produkcji długa droga), konwencję która opisałem najlepiej widać jak się przesledzi kilka wydań plotek.
Krzyhoo
Arku, bo nie mam siły i okazji poszukać - czy przypadkiem to nie 40 2.8 micro był w plotkach i dość szybko się potem ukazał?
85 1.8 na poziomie 50 1.8 jakościowym (nie mówię, że taka budowa) i 70-200/4 - no i do tego wypisana przez leszka3 jasna szeroka stałka - i ja naprawdę więcej nie potrzebuję od Nikona.
no, może żeby D7000 nie chlapał olejem i miał działający autofocus ;-))))))))))))))
a ja jeszcze poproszę 24/2DX i może jakieś 16/2.8DX/ 85/1.8 i 70-200/4 sa logicznymi szkłami po tym jak wyszedł tani 35DX i 50/1.8, a wcześniej 16-35/4.
Tylko 20elem w 70-200? ciekawe, jaką to będzie miało transmisję i jaką flarę... Że o cenie nie wspomnę.
@s4int: niestety, to stary śrubokręt kosztuje 4 tysie. Af-S 80-200 się praktycznie nie pojawia.
W tej sytuacji trudno będzie nikonowskiemu 70-200/4 konkurowac z niestabilizowaną Sigmą, bo na pewno cena będzie 4tys lub więcej.
16-35/4 kosztuje tyle, ze lepiej kupić 17-35/2.8, który jest legendanrie ostrym szkłem.
Czekam na następcę D700( albo nawet D300s, jesli BARDzo poprawią dynamikę), bo S5pro mi się zestarzało moralnie ;P
A nikt nie zauważył złych wyników Kodaka? Są na skraju upadłości.
Coś mi się wydaje że to może postawić ludzi fotografujących na kliszy w dość kłopotliwej sytuacji.
link
link
Ja tak bardzo nie tęsknię do stałek typu 24/2 dx, bo w tych ogniskowych są ciągle dostępne nieduże Nikkory AF i MF. Ale rozumiem, że jak ktoś bardziej reportażowo używa ekwiwalentu 35mm, to może na taką 24/4 dx mieć chrapkę, zwłaszcza jeśli nie byłaby duża (ale ze światłem 2.0 to nie bardzo może być mała).
PS: droga tego 70-200/4vr od patentu do produkcji? Skoro jest już ujawniony patent (ale zgłoszenie czy przyznany?), to nie warto czekać z produkcją, ale czy ktoś ma rozeznanie, ile w praktyce mija średnio od patentu do produkcji (mówię o szkłach i pomińmy te, które do produkcji nie weszły w ogóle).
@ov_Darkness: nieprawda, dwupierścieniowy kosztuje w okolicach 2500zł. Nie wiem skąd wytrzasnąłeś te 4k za niego? AF-S się bardzo rzadko pojawia, to fakt, ale tyle kosztuje właśnie. Nie ma szans żeby sporo gorsze i dużo bardziej popularne szkło chodziło za tyle samo.
17-35 legendarnie ostre? Chyba nie na brzegach :D albo pomyliłeś z 14-24...
No no - Nikkor 70-200/4: coś a'la Canon z opóźnieniem 20 lat...
Obiektyw Canona z pierścieniem przysłon: coś ala Nikkor z opóźnieniem 50 lat...
Świat zmierza do swego końca :)
A kiedy plotki o FAJNYM bezlusterkowcu Nikona :D
Kiedy Nikon wypuści profesjonalnego N1?
jak wymyślą, żeby dać do niego większą matrycę. czyli jak 1J1 i 1V1 im się nie będzie sprzedawał.
trudno poczekamy :(
podr Wiosenny Szczypiorek ;)
Rozumiem ze ploteczki o Nikonie zostaly spisane wczoraj...
No to szkoda ze nie zostaly zaktualizowane dzisiaj:
link
uhm...36mp na malym obrazku...
Producentów niezbyt interesuje zadowolenie klientów, ważniejsza jest kasa, poza tym piszecie, że gdyby były 2 takie a nie inne obiektywy i więcej nie trzeba musicie wiedzieć, że oni też to wiedzą i dlatego takich nie zrobią:-)
@therogal: 36mpx to nie tak dużo, zważywszy że apsc ma już prawie 2x więcej upakowania od tego.
a swoją drogą przepowiedziałem to pół żartem, że nikon się nakręci sukcesem 5dII i wypuści d800 z napakowaną matrycą, videło, wykrywaniem uśmiechu i uchylnym ekranem. Śmiech.
@ s4int
Nikkor AF-S 80-200/2.8 nie jest już produkowany a trafienie go na aukcji graniczy z cudem.
Jak już się trafi to cena oscyluje w granicach 4 klocków
Brakuje nowoczesnego tele z silnikiem z silnikiem (niekoniecznie ze stabilizacja) w cenie pomiędzy 2-3 tys zł. Jest albo jasne 2.8 od 4 tys w górę, ewentualnie polowanie na jakaś używkę 80-200 w granicach 3,5 tyś.
Albo stara pompka za 2 tyś
W systemie Canona mamy lepszy wybór, wszystkie z silnikiem praktycznie z każdej półki cenowej:
EF 70-200/f2.8 L IS USM - drogi dla zawodowców za ponad 7 tyś
EF 70-200/f2.8 L USM - tańszy bez stabilizacji za ok 4 tyś
EF 70-200/f4 L IS USM - średni cenowo o połowę lżejszy ale ciemniejszy ze stabilizacją za ok 4 tyś.
EF 70-200/f4 L USM - i coś bez stabilizacji dla osób o mniej zasobnym portfelu za ok 2 tyś
Te 36mpx to ciekawy temat - marketingowy. Zastanówmy się.
D3x ma 24mpx. Skok z 24 do 28 to może być za mało żeby sprzedać nowy model, bo chodzi wyłącznie o sprzedanie tego modelu, tylko o to. 36mpx jest więc prawdopodobne w D4x.
A co d800... ? Cholera wie. Może Nikon uznał D4x i d800 za ten sam model w dwóch wersjach? Czemu nie? Ale ja nie ryzykowałbym żadnej prognozy.
Nikon nie raz już zaskakiwał i również ostatni bezlusterkowiec dowodzi, że w Nikonie podejmuje się ciągle odważne decyzje. A więc 36mpx?
Może Canon czeka... co zrobi Nikon. A Nikon czeka na Canona. Może tak być, bo rynek jest już nasycony, każdy dzisiaj właściwie ma już swój aparat i teraz wchodzi w grę wymiana na nowy, a więc musi być powód do wymiany, więc czyżby faktycznie będzie te 36mpx?
Logika podpowiada, że d800 powinien mieć 16-18mpx. Ale rynek chce mięsa.
Podobno D800 i A99 ma mieć tę samą matrycę 36Mpix: link
I ten sam czarny kolor :)))
noezzzzzzzzz! nie kcem! 18mpix i ani grama więcej!
Tymczasem Fuji po sukcesie X100 zapowiedziało na wiosnę bezlusterkowca FF: link
a skąd ci się wzięło FF?!? Stoi jak byk, że matryca 2/3" i do tego zoom bleeee
Cube, a popatrzałeś na diagram? Poniżej X100 jest X-S1 właśnie z matrycą 2/3" i jest również aparat z wyższej półki niż X100, który rozdzielczością i niskim szumem ma pobić FF. Myślisz że z małym sensorem?Jest wysoce prawdopodobne że będzie to FF, mam nadzieję że Fuji nas zaskoczy jak czyniło to nie raz ;)
A jakaż to optyka miałaby się tam znaleźć?
MaciekNorth, z obrazków możesz wysnuwać dowolne wnioski, ale w tekście niczego takiego nie ma. Ten mały czarny aparat to x10, matryca 2/3 i zoom x4...