O tym się mówi, czyli plotki i ploteczki z ostatniego tygodnia
W minionym tygodniu doczekaliśmy się kilku ciekawych nowości. Zobaczyliśmy nową lustrzankę cyfrową Canona EOS 650D i dwa nowe obiektywy oraz bardzo ciekawy kompakt Sony Cyber-shot RX100. Czy mimo dyskusji na temat premier Canona i Sony pojawiły się jakieś plotki na temat nowości innych producentów?
Uwaga! Poniższe informacje w większości nie są oficjalnymi informacjami producentów i pochodzą często z nieznanych i niepotwierdzonych źródeł.
![]() |
Canon
Nowy firmware dla EOS-a 7D
Mówi się, że w najbliższym czasie zobaczymy nową wersję oprogramowania firmware dla aparatu EOS 7D. Oprogramowanie to ma zapewnić wiele nowych funkcjonalności:- Możliwość rejestracji większej ilości zdjęć RAW w trybie seryjnym z obecnych 15 do 26.
- Z poziomu menu aparatu dodana ma zostać funkcja konwersji zdjęć z formatu RAW do formatu JPEG.
- Dodana ma zostać funkcja przyznawania oceny wykonanym zdjęciom w skali od 1 do 5.
- Możliwość ustawienia maksymalnej czułości ISO w trybie Auto ISO.
- Możliwość ręcznego dostosowania poziomu nagrywania dźwięku w 64 poziomach oraz możliwość regulacji głośności odtwarzania dźwięku w 11 poziomach.
- Dodana ma zostać funkcja zmiany rozmiaru zdjęć formatu JPEG z poziomu menu aparatu. Nie będzie można jednak zmieniać proporcji boków zapisanych zdjęć.
- Dodana ma zostać obsługa modułu GPS GP-E2.
- Dla przycisku Q (Quick Control) dodane mają zostać funkcje przydatne podczas przeglądania zdjęć.
- Możliwe będzie nadawanie plikom zdjęć częściowo własnej nazwy.
- W menu 7D możliwe będzie definiowanie stref czasowych.
- Zwiększyć ma się szybkość przesuwania zdjęcia na wyświetlaczu podczas jego przeglądania z powiększeniem.
Nikon
Nikon D400
Japoński magazyn CAPA opublikował roczne przewidywania o nadchodzących premierach firm: Pentax, Sony, Canon i Nikon. Na jednej ze stron opisano nową lustrzankę cyfrową Nikon D400 wyposażoną w matrycę o rozdzielczości 24 megapikseli formatu APS-C, 51-punktowym systemem AF oraz posiadającą szybkość zdjęć seryjnych na poziomie 9 kl/s. Skan tego artykułu opublikowany na portalu Nikon Rumors prezentujemy poniżej. Należy pamiętać, że nie są to żadne przecieki mniej lub bardziej oficjalne, a jedynie przewidywania redaktorów japońskiego magazynu, które jednak w przeszłości częściowo się sprawdzały.![]() Źródło: Nikon Rumors |
Nikkor 24–85 mm f/3.5–4.5 VR
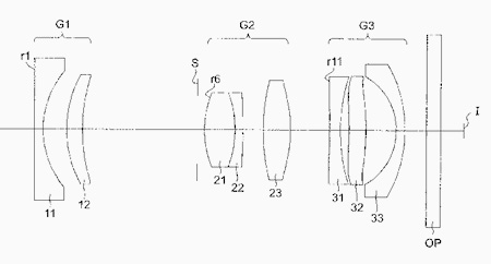
Choć nie było jeszcze premiery pełnoklatkowej lustrzanki D600, już się mówi o obiektywach dla niej przeznaczonych. Jednym z pierwszych ma być Nikkor 24–85 mm f/3.5–4.5 VR. Jego premiera ma nastąpić już w przyszłym tygodniu, najprawdopodobniej 15 czerwca. Poniżej prezentujemy schemat nowego obiektywu pochodzący z jednego z patentów firmy Nikon. Niestety, mówi się także, że wraz z premierą nowego obiektywu nie zobaczymy jeszcze lustrzanki D600.![]() |
Olympus
Olympus E-7 i E-720
Czy Olympus zapomniał już o systemie Cztery Trzecie? Prawdopodobnie jeszcze nie, bo plotki głoszą, że przygotowywana jest premiera zarówno zaawansowanego aparatu E-7, będącego następcą modelu E-5, jak i przeznaczonego dla szerszego grona użytkowników modelu E-720.
Panasonic
Panasonic DMC-LX6
Podobno w ciągu najbliższych 2–3 miesięcy zobaczymy następcę zaawansowanego aparatu kompaktowego firmy Panasonic DMC-LX5. Nowy Lumix LX6 ma zostać wyposażony w matrycę fizycznie większą niż w modelu LX5. Prawdopodobnie może to być matryca o wielkości 1 cala, czyli o takiej samej wielkości jak w Sony RX100 zaprezentowanym w tym tygodniu.
Pentax
Coś dla miłośników patentów
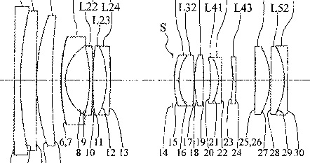
Serwis Photorumors dotarł do opublikowanego w Internecie patentu złożonego w Japonii dotyczącego nowego obiektywu Pentax 18–55 mm f/3.5–6.7 dla aparatu bezlusterkowego z matrycą APS-C takiego jak Pentax K-01. Konstrukcja obiektywu składa się z 8 elementów w 7 grupach i zawiera 1 element ED i 3 asferyczne. Schemat obiektywu prezentujemy poniżej.![]() |
Samsung
Nowe obiektywy dla systemu Samsung NX
W mijającym tygodniu nie zabrakło plotek dotyczących planowanych premier Samsunga. Prawdopodobnie nowe aparaty i obiektywy systemu Samsung NX zobaczymy podczas targów Photokina. Wśród nowości zobaczymy prawdopodobnie 2 lub 3 nowe obiektywy z czego najbardziej prawdopodobna jest premiera obiektywów 12–24 mm f/4 OIS ED VCM (z funkcją iFn) oraz nowego naleśnika 30mm f/2 w wersji II (także z funkcją iFn). Wśród innych obiektywów które są projektowane przez Samsunga wymienia się jeszcze naleśnik 55 mm f/1.8 oraz zoomy 16–50 mm f/2.8 OIS SSA i 70–400 mm f/4–5.6 OIS ED VCM. Za to zapowiadany w lutym 2011 roku obiektyw 16–80 mm f/3.5–4.5 OIS prawdopodobnie został anulowany. Stałoogniskowe zaawansowane obiektywy mają zostać zaprezentowane w roku 2013.
Nowe aparaty kompaktowe
Wśród nowości podczas targów Photokina mamy zobaczyć także dwa nowe kompakty, a jednym z nich ma być aparat będący następcą zaawansowanego modelu TL500 / EX1.
Schneider Kreuznach
Nowe obiektywy dla systemu Mikro Cztery Trzecie
Mówi się, że w ciągu najbliższego tygodnia zobaczymy premierę kilku obiektywów firmy Schneider Kreuznach przeznaczonych dla systemu Mikro Cztery Trzecie. Firma Schneider jest producentem wielu modeli obiektywów z mocowaniami: C, FD, SL i M42 i być może któraś z tych konstrukcji zostanie przeprojektowana na potrzeby systemu m4/3.
Sony
Sony A99, NEX-F5 i nowe obiektywy
Podobno następną nowością Sony, którą zobaczymy w najbliższym miesiącu lub dwóch będzie bezlusterkowiec NEX-F5 wraz z obiektywem 16–50 mm G. Co ciekawe, mimo że to obiektyw o zmiennej ogniskowej, to ma być konstrukcją typu naleśnik.Kolejną premierą, którą mamy zobaczyć pod koniec sierpnia będzie aparat Sony SLT-A99 z obiektywem Carl Zeiss 50 mm oraz drugim nowym obiektywem z bagnetem systemu Alpha.
Premierę Sony A99 prognozują także redaktorzy japońskiego magazyn CAPA, o których już wspominaliśmy przy okazji Nikona D400. Według CAPA, A99 ma posiadać matrycę o rozdzielczości 24 megapikseli, 101-punktowy system AF oraz czułość ISO do 51.200.
![]() Źródło: Sonyalpha Rumors |
Komentarz można dodać po zalogowaniu.
Zaloguj się. Jeżeli nie posiadasz jeszcze konta zarejestruj się.
















Optyczne.pl jest serwisem utrzymującym się dzięki wyświetlaniu reklam. Przychody z reklam pozwalają nam na pokrycie kosztów związanych z utrzymaniem serwerów, opłaceniem osób pracujących w redakcji, a także na zakup sprzętu komputerowego i wyposażenie studio, w którym prowadzimy testy.
Ciekawe,czy pojawia sie te nowe puszki Olka w 4/3
Okazuje się, że Pentax wybrał ciekawą drogę do budowy systemu bezlusterkowego - mianowicie obiektywy będą rosły wgłąb aparatu nie na zewnątrz - ciągle bedziemy mieli cegiełkę ale tą samą cegiełkę będziemy mieli niezależnie od obiektywu który podepniemy.....
Czyli D400 jako następca D7000?
@2EV
Raczej jako następca D300s
Co do Nikona to ogólny trend nikona że pomniejsza puszki, tak samo było d700->d800, w tym drugim już jest węższy grip i korpus stał się bardziej krępy. Szkoda bo wielkość d300/d700 (podobna) jest naprawdę w porządku
O 70d znowu cisza, już przestali się trzymać 18 miesięcznego cyklu wydawniczego. No trudno.
"wiele nowych funkcjonalności"... z których przyda się tylko możliwość wytyczenia zakresu auto ISO ale dobre i to :D
do firmware 7d powinni dodawać instrukcję wydrukowania i nalepienia naklejki "Mark II" na obudowę ;-)
to by rozwiązało wiele logistyczno-marketingowych zagadnień, tylko jak na tym kurcze zarobić...
@cube, osobiscie wole nowy firmware niz nowe 24 pixelki a apsc
tylko pytanie brzmi: czy naprawdę zajęło im to dwa lata żeby usprawnić pracę bufora i przyspieszyć przewijanie zdjęć przy powiększeniu, dodać jakieś ficzery do filmowania i przeglądania zdjęć?
Z drugiej strony dobrze że chociaż w tym modelu nie muszą usuwać ewidentnych błędów w działaniu tak jak to było w innych puszkach. Chyba że już była łatka wcześniej usuwająca błędy a ja tego nie zarejestrowałem.
eeetam, jeszcze się przekonasz do tych 24mpx... jak zobaczysz nowe apsc 36mpx ;-)))))
@cube, no tu masz racje
Nowy Lumix LX6 ma zostać wyposażony w matrycę .......... Prawdopodobnie może to być matryca o wielkości 1 cala,
Rosna matryce w kompaktach. ciekawe kiedy urosna matryce w zaawansowanych ale AMATORSKICH lustrzankach (do 1500$ czyli w okolicach cenowych niedawnych D300s i 7D) do formatu fulfrejma. Czy to naprawde Nikon w D600 wyskoczy z tym pierwszy? Nikon ma w rekawie fantastyczna zagrywke z wymontowaniem silnika a Canon ? Nie bardzo ma co urżnąć zeby jednoczesnie sprzedawal sie tani fulfrejm i drogi 5mk3.
Przecież C już ma tani FF, mk2.
Pytanie tylko jak długo będzie jeszcze w sprzedaży.
W kwestii Canona to bajki. Jeszcze NIGDY Canon nie dodał nowej funkcji do puszki razem z nowym oprogramowaniem wewnętrznym. Poprawiał jedynie błędy.
Ten mk II wcale nie jest już tak bardzo tani bo ceny co tydzień rosną a i dostaw jest coraz mniej.
Patrząc na działania Canona zaczynam mieć nadzieję, że ta firma wcześniej wypuści malutką lustrzankę z FF niż wejdzie w segment bezlusterkowców. Tego bym sobie od Canona życzył, tak jak kolejnych konstrukcji Pancake i kontynuacji kompaktów serii G z coraz szybszym AF.
"Dodana ma zostać funkcja przyznawania oceny wykonanym zdjęciom w skali od 1 do 5. "
nie ma to ja wiara w umiejętności swoich klientów :DDDD
komedia
@sektoid a firmware do 5d mk2, który dodawał ręczną kontrolę ekspozycji podczas filmowania?
Szkoda, że kosztem miniaturyzacji "wpuszczanych" szkieł Pentaxa jest światło. F5.6 na długim końcu to już słąby wynik, a co dopiero 6.3. Szczególnie, że zapewne będzie trzeba jeszcze to sporo przymykac by uzyskac dobrą jakość w całym kadrze. Troszkę metoda "skórka za wyprawkę" - tzn zestaw będzie naprawdę niewielki/dyskretny, jednakże w słąbym świetle niezabardzo praktyczny. IMO przydatniejsze byłoby jakieś małe szerokie (coś z okolic 20-28mm) szkieło ze światełkiem 2.8. Patent ze "wpuszczaniem w body" pozwoliłby zrezygnowac z modułu retrofocusa więc rozmiar tego obiektywu mógłby być naprawde niewielki...
Nowy firmware do 7D ma ściągnąć rzutem na taśmę "ostatnich" chętnych na ten sprzęt
- niedługo wejdzie nowy model mk2 ... który będzie miał to wszystko w "standardzie" plus kilka nowinek i tak w kółko ...
ale przynajmniej coś się dzieje
Nie żebym narzekał ... sam siedzę z mk2 i czasem zerkam w stronę 7D bo brakuje mi czasem dłuższej ogniskowej ... a taniej kupić 2-gą cropa puszkę niż dłuższy obiektyw ;) pod FF
A ja z niecierpliwością czekam co Samsung pokaże w "EX-2". Już EX-1 bardzo mnie interesował, jednak kilka niedociągnięć związanych z jego obsługą powstrzymała mnie od zakupu.
ps.
meczy nie oglądam - nudne to jak flaki z olejem, szkoda że spora część społeczeństwa mająca kopaninę po nogach w dalekim poważaniu musi być ze wszystkich stron i mediów bombardowana jedynie słusznymi newsami z tychże igrzysk.
Plotki o NEX-F5 z wbudowaną lampą i krótkim obiektywem skutecznie każą się powstrzymywać na ten moment z zakupem NEX-5N...
Olympus E-7 i E-720 ? to Szabla się ucieszy ;)
Ja bym się na razie tak bardzo nie cieszył tą plotką o nowych modelach 4/3. W świetle nowych doniesień o kupnie części akcji przez Panasonica mówi się o prowadzeniu działań w strefie prawdopodobnych zysków czyli endoskopów i m4/3.
myślę, że Olympusowi się po prostu PENy nie sprzedają :-) stąd odkurza pomysł z lustrzankami
Ohohoho:) A99 więc pewnie będzie 1000000fps, bitrate 200000Mbps, rozdzielczość 8K i tylko jakość obrazu KUPA jak zwykle:)))............
Z poważnych sprzętów mam nadzieję że D400 się okaże prawdą.
"oz | Ohohoho:) A99 więc pewnie będzie 1000000fps, bitrate 200000Mbps, rozdzielczość 8K i tylko jakość obrazu KUPA jak zwykle:)))............ ."
Wyraził się Kolega bardzo dosadnie, jednakże zupełnie bez związku ze znajomością tematu. Uwielbiam taki besserwiseryzm: "jak zwykle"...Pierdolety do kwadratu.
oz | 2012-06-11 11:54:35
A99 więc pewnie będzie 1000000fps, bitrate 200000Mbps, rozdzielczość 8K i tylko jakość obrazu KUPA jak zwykle:)))............
Jak sfrustrowany "fotograf" KUPA to i najnowsze Canon, Nikon, Sony, razem wzięte nie pomogą :)
oj oz, ty prowokatorze no no... prawdę piszesz i cię za raz zlinczują, a99 to przecie nowy "święty graal" ;-)))
"cube | oj oz, ty prowokatorze no no... prawdę piszesz i cię za raz zlinczują, a99 to przecie nowy "święty graal" ;-)))"
Żaden z niego prowokator, zwykły besserwiser. Przytomni ludzie nie wypowiadają się w kwestiach o których nie mają pojęcia.
z tego co wiem to oz wypowiedział się o nieistniejącym modelu aparatu, więc nikt nie ma o nim pojęcia, łącznie z obrońcami marki... ;-)))
A99 - pewnie i tak juz nie kupie bo nie dam rady koleny raz zmienic system ale bardzo bym chcial zeby Sony ta 24mpix matryca wyszla i bila na lopatki inne FFy.
Z ciekawostem. Stoje w kolece po enlopy w FotoJokerze. Przedemna malzenstwo z malym dzieckiem kupuja aparat. Pan mowi : "bierz Niknona - nikona mial ten facet ktory robil zdjecia na naszym weselu"
Wiec biora. patrze co - nikona za 399zl. Aha - no tak ....
Z drugiej strony nawet na tym forum sa ludzie ktorzy twierdza ze to nie aparat a fotograf pstryka zdjecia.
besserwiser? Nowe określenie w słowniku optyczne.pl, ale co konkretnie oznacza?
Jak się zmiesza budweiser z weissbier to tak potem niektórym się robi;)
Ok wikipedia pomogła, ale paradoksalnie twoje wytłumaczenie z budweiserem (lub ich większa ilością) ma w tym przypadku sens ;-P
A jak już ktoś musi koniecznie w makaronizmy iść to tu lepiej pasował besserwisser z dwoma s pod koniec...
może autor nawiązywał do filmu w którym pewne nazwisko miało być "bez S" ;)
"ale bardzo bym chcial zeby Sony ta 24mpix matryca wyszla i bila na lopatki inne FFy. "
chcieć można, doświadczenie uczy że raczej będzie miał najwięcej giberesów, ale obrazek najsłabszy... ;-)
Z ciekawością czytam ataki nikonowców/nikoniarzy na prostych użytkowników systemu A sony.Prawdę mówiąc czytając komentarze, a przede wszystkim "rzetelne" testy myślałem,że strasznie wtopiłem kupując sony A700 i kilka obiektywów i lampę . I tu - komunia moich bliźniaków- wynajęto fotografów- a oni Nikony 300 i 700. Dostałem płytę ze zdjęciami - i niespodzianka- twarze dzieci o odcieniu różowawo-czerwonawym i wszechobecne mydło. Najgorsze było dla tych zdjęć porównanie z tymi kilkoma moimi z A700 , które zrobiłem mimo zakazu. Pozdrawiam nikoniarzy, którzy naprawdę nie wiedzą o czym piszą krytykując nieznany sobie system.
"ale bardzo bym chcial zeby Sony ta 24mpix matryca wyszla i bila na lopatki inne FFy. "
Jezeli to bedzie nowa matryca to mozemy sie spodziewac znakomitego DR i brak bandingu. No i konkurencja moze miec kolejny problem. A jak Nikon ja sprzeda w D600 (znakomity DR i jak wiemy kontrola nad szumem, brak bandingu) to juz bedzie katastrofa...
Nie rozumiem tych zlosci pod adresem Sony...
@marian1000
och, to taki folklor każdego forum foto. Wpadnie taki oz, rzuci g..no w wentylator, potem przyleci Cube czy inny Ratownick i wydaje im się, że zabawa w tym czyms rozchlapanym jest taka jazzy i trendy. Przecież im gustu nie zmienisz, prawda?
ps. Cube, róznica między soniarzem a canoniarzem jest taka, że ten pierwszy będzie mógł w tym roku popstrykać nowym FF.
John, soniarz będzie mógł popstrykać... ale póki co to tylko w marzeniach bo na razie same plotki.
a canoniarze już pstrykają nowym FF, a niedługo w sklepach będą mieli drugi nowy FF w tym roku... ;-)))
'cube | John, soniarz będzie mógł popstrykać... ale póki co to tylko w marzeniach bo na razie same plotki.
a canoniarze już pstrykają nowym FF, a niedługo w sklepach będą mieli drugi nowy FF w tym roku... ;-)))"
A jak tam się ma światłomierz w zewnętrznym lcd nowej 5 canona? Ładnie mierzy światło padające? Da się jakieś kopułki założyć do pomiaru punktowego? ;oDDDDDDD
Jakież to świetne zdjęcia się szykują z tych nowych FF! ;)))
@Szabla, niestety APS-C są tylko mniej lub bardziej udanymi protezami lustrzanki małoobrazkowej, GO ciągle za duża :) Podejdziesz trochę poważniej do tematu zdjęć ludzi to zrozumiesz ;)
Mam nadzieję że D600 i A99 będą miały równie piękną dynamikę co D800 i będą dostępne przed wirtualnym 1D X :)
7d i Dx00 (gdzie x
cube | 2012-06-11 18:08:36......"Sony ta 24mpix " chcieć można, doświadczenie uczy że raczej będzie miał najwięcej giberesów, ale obrazek najsłabszy... ;-)
Sony widac ze czyta fora. poczytali o tym ze nie chcecie GPS wiec zaczeli go wywalac (z RXa z A57) , wiekszosc porownywala obiektywy zaczynajace sie od 16mm z tymi zaczynajacymi sie od 18mm wiec RX juz nie starali sie o 24mm bo i tak nikt nie docenil (tzn niedocenili ci ktorzy i tak uzywali C lub N) - wiec musle ze przeczytali tez o tym ze obrazek ma byc super bo znow sie beda smiali. Ja mysle ze nie zmarnowali czasu od A900 i A99 bedzie tak dobra jak dobre sa w por. do konkurencji kompakty np RX vs N-1 vs G1x czy HX20V wzgledem innych kompaktow.
"już pstrykają nowym FF" w sumie w sonym też by dało radę kupić biały pisak za 7k i dopisać MKII do a900 :) i też by już mieli takie samo nowe jak w canonie ;)
@cube doświadczenie uczy że raczej będzie miał najwięcej giberesów, ale obrazek najsłabszy...
a jaką Ty masz wiedzę i doświadczenie w temacie Sony? wiem..wiem..przeczytałeś sporo w necie i słyszałeś od znajomych:)
Mam A900 od blisko 3 lat i nawet myśl mi nie przyszła żeby odsprzedać ten aparat lub zamienić na inny model. Jakość zdjęć jest naprawdę rewelacyjna jak i ergonomia obsługi. No ale ja się pewnie nie znam, bowiem nie opieram się na opinii tutejszych "znawców" o tym aparacie.... Po prostu robię zdjęcia....
Pantoney, żeby ocenić jak szumi a900 nie muszę go za raz kupować, zdjęcia w necie wystarczą, bo różnica na tle konkurencji jest dość dramatyczna. Z a99 może będzie akurat inaczej, ale tego na razie nie wiemy.... :-)
Kuba@, to może nas oświecisz i napiszesz jakie to istotne różnice były np. między modelami a900 i a850? Akurat sony klepie tyle modeli puszek różniących się głównie obudową, że byś się nie ośmieszał z takimi komentarzami.... :-))))
Zentaurus, tak tak "mam i jest super" może i jest, dopóki nie porównać go do bezpośredniej konkurencji...
cube@
Wyobraż sobie że miałem okazję porównać A900 do Canona 5D II i jakieś powalającej różnicy nie zauważyłem. W jednym nieco lepszy jest S a wdrugim C.
"cube | Akurat sony klepie tyle modeli puszek różniących się głównie obudową, że byś się nie ośmieszał z takimi komentarzami.... :-))))"
Przynajmniej czymś się różnią, w przeciwieństwie do canona, który nawet obudów nie zmienia. ;oDDD
@westberg
Mam przez to rozumieć że A900 to tylko korpus i matryca?
Czy nie miglibyście się powstrzymać od krytyki czegoś, czego w większości nawet w rękach nie mieliście (mam na myśli użytkowników wszystkich systemów) a tylko powtarzacie zasłyszane/ przeczytane cudze opinie?
Nie lepiej by to wygladało, gdyby każdy z Was ograniczył sie do wypowiadania na temat sprzętu o którym ma większa wiedzę niż czysto teoretyczna?
Dorośnijcie
@zentaurus "W jednym nieco lepszy jest S a wdrugim C. "
typowe rozmydlanie tematu, 0 konkretów.
@westberg "Przynajmniej czymś się różnią"
no śmiało, słucham, czym w takim razie się różnią? Bo ja nie zauważyłem...
@ splawik
Zgadzam się całkowicie. Też mi przeszkadza to, że najwięcej o sony (zwłaszcza a900/850) mają do powiedzenia użytkownicy canonów. Moje wpisy są zatem reaktywne, bo skoro się już tak bawimy, to się bawmy. Ale może lepiej pogadać rzeczowo?
Na przykład o kwestii szumu w fotografii. Czy ktoś, kto robił zdjęcia na kliszy negatywowej może twierdzić, że ziarnistość zdjęcia jest jego wadą? Ta kwestia różni dzisiejszych pstrykaczy nakręconych nowymi ficzerami od fotografików, którzy potrafili wykorzystać każdy aspekt techniczny w fotografii - nie tylko na etapie robienia zdjęcia, ale i jego obróbki.
"cube | no śmiało, słucham, czym w takim razie się różnią? Bo ja nie zauważyłem"
Ależ zauważył Kolega - obudową!! Obudową się różnią. ;oDDD
Nie to co wśrod canonów; ostatnio nowa 5. dostała wreszcie autofokus z eosa 3 z 1998 r. I jest to kosmiczna sensacja! Nowa nowość, że tak powiem. Za 20 lat canon wprowadzi spektakularną nowość w postaci eye control i wszyscy się zachwycą tą nowością z 1992 roku.
@westberg
Co do szumu na zdjęciu, to zależy od tematu, jaki klimat chcemy osiagnać itd itp.
Nia zawsze jest wskazany i nie zawsze jest zły.
Co do AF, to może za 30 lat C opracuje taki ze 101 czujnikami.
Tylko po co?
cube@
Jak chcesz konkretów :
link
Widać na załączonym obrazku że jedne parametry ma S a inne C. Matryce C Mark II i A 900 mają tyle samo punktów a nowszy model Canona MIII o trzy punktów więcej. To mimo wszystko nadal wysmienity wynik dla A900. W końcu ten model ma już parę latek :)
Zdaję sobie sprawę że A900 ustępuje nieco na wyższych czułościach z szumami ale dla mnie to nie ma większego znaczenia, bowiem dla mnie fotografia to światło zastane i nie korzystam z bardzo wysokich ISO.
Przepraszam za błędy językowe :)
"zentaurus | Przepraszam za błędy językowe :)"
Kulega przeprosi raczej świat za szum w A900 przy iso 3200. ;o) Niektórzy, zwłaszcza użytkownicy canona, nie mogą się pogodzić z tym faktem i wciąż ich on boli. ;oDDD Tacy to wrażliwi z nich ludzie.
Wg mnie to głupie przepychanki. A kogo to obchodzi który jest lepszy? Przecież to nie są aparaty entry level. Na ogół się nie wybiera tego typu korpusów jako pierwszych w systemie więc kupno jest wynikową posiadaniem niższych modeli sony albo minolt itp. -_-
Przechodzenie z jednego systemu do drugiego to naprawdę marginalny odsetek użytkowników.
"ghiio | Przecież to nie są aparaty entry level. Na ogół się nie wybiera tego typu korpusów jako pierwszych w systemie więc kupno jest wynikową posiadaniem niższych modeli sony albo minolt itp. -_-
Przechodzenie z jednego systemu do drugiego to naprawdę marginalny odsetek użytkowników."
Nie do końca. Ja na przykład w okresie fotografii analogowej byłem zaprzysiężonym użytkownikiem canona. Bardziej w sumie przez przypadek niż z rozumnego wyboru. Ale sprzęt był ok, więc nie marudziłem. W zasadzie niektóre modele były bardziej niż ok (eos 5 czy 3). Potem krótko był contax.
Kiedy wchodziła fotografia cyfrowa w ogóle się do niej nie mogłem przekonać. Słabe, małe matryce, syfilityczna głębia ostrości, to wszystko zniechęcało. Kupiłem sony R1 na zasadzie kompromisu. Dopiero wejście na rynek sony A850, umożliwiło mi po pewnym czasie zakup tego aparatu za rozsądną cenę. A był to pierwszy aparat, który spełniał wszystkie moje oczekiwania wobec sprzętu, a jednocześnie nie kosztował worka złota. Zatem jako użytkownik canona wszedłem w system minolta/sony całkiem świadomie. System ten w zasadzie spełnia moje zapotrzebowania, więc nie boleję nad rzekomo małą ilością obiektywów. Te które mnie interesują akurat są, a że są to także obiektywy z najwyższej światowej półki, to tym bardziej fajnie. W tym zakresie historia zatoczyła koło i contax spotkał się z sony (taka mała dygresja).
Na dodatek, o zgrozo, nie mam najmniejszych chęci pozbywania się tego zestawu, który mam. Żadna nowość mnie do tego nie zachęci (nawet a99). Chyba że mechanicznie sprzęt mi padnie. Kiedyś...za dwadzieścia lat. ;o)
@westberg myślę że iso 3200, to właściwie standardowy parametr ekspozycji, każdego ambitnego canoniera;)
"pantoney | myślę że iso 3200, to właściwie standardowy parametr ekspozycji, każdego ambitnego canoniera;)"
Iso 3200 to jak natywne iso 50, nieprawdaż?
hehehe za każdym razem jak wytyka się mankamenty w aparatach sony nagle okazuje się że forum jest pełne artystów, którzy robią genialne zdjęcia nawet telefonem, którzy szum wykorzystują tylko kreatywnie, za raz pojawia się też tabelka z dxo i sformułowania w stylu "iso powyżej 400? kto tego używa?". Wesoło za każdym razem. No nic, pozostało mi chyba tylko pójść dodać do moich zdjęć artystyczny szum w fotoszopie... ;-)))))
Cube, ale powiedz: robiłeś kiedyś zdjęcia na negatywie? Było ziarno czy nie?
Gdzie nie było ziarna? Na diapozytywach. Tylko. Kto robił na diapozytywach? Mało kto.
W głowach wam się poprzewracało, panowie szlachta.
Poza tym naprawdę uwierz mi na słowo, że brak szumu nie świadczy o wysokiej jakości zdjęcia, tak jak szum nie świadczy o jego niskiej jakości. Rzuć sobie okiem na zdjęcia Anthonego Corbijna. Sam szum, młodziakom się nie spodoba.
cube@
Piszesz bez ładu i składu. Najpierw jak pisałem że C i N mają swoje słabsze i mocniejsze strony to stwierdziłes że to ogólniki, więc przytoczyłem konkrety którymi są testy na DXO. Nie są one wyrocznią we wszystkim, ale na pewno są bardziej obiektywne i rzetelne niż niekturych forumowych specjalistów. Oczywiście zawsze można odwrócić kota ogonem. Przecież to Ty niepotrzebnie wywołujesz jakieś systemowe przepychanki.
Nasza kochana planeta może pomieścić wszyskich fotografujących zarówno Canonami, Nikonami a nawet Sony :)
@westberg
Anton Corbijn to jednak przeważnie fotografia stylizowana na czarno biały film, stąd szum wskazany.
Marny przykład, no chyba że fotografuje on puszką Sony na wysokim iso.
Nie rozumiem tylko dlaczego się tłumaczysz z tego jak szumi Twój aparat, czy Twoje poczucie humoru kończy się na artykułach o Canonie?
@Westberg: owszem robiłem na negatywie, ale szybko przeszedłem na provie 100F bo mi ziarno ani kolory nie pasowały. Czy to znaczy, że nie zostanę artystą?? No trudno się mówi... ;-)))))
P.S. Na średnim czasem założę jakiś materiał srebrowy, ale cz-b to inna historia...
Splawik -
Corbijn to fotografia analogowa per se. On nie stylizuje. I wykorzystuje ziarno negatywu jako części swojej kreacji.
Cube -
Artystą to Ty już jesteś. ;o)
No to dla rozwiania wątpliwości, niech każda ze stron podrzuci linka do siebie. Bo jak widzę każdy tu jest artystą. Tylko nie wiedzieć czemu, największym dramatem dzisiejszej sztuki jest szum lub jego brak. Pokażcie czy rzeczywiście ten szum jest najsłabszą stroną waszych zdjęć czy, może strzelacie gniotami na prawo i lewo a wieczorami polerujecie swoje eLki. I czy sonowcy mimo tego strasznego szumu, potrafią coś wykrzesać z tych beznadziejnych puszek. A tak w ogóle, to co was wszystkich tak boli ten sony? Czyżby drukarkom czegoś brakowało, że wam walkmany drzazgą w oku?
"Czyżby drukarkom czegoś brakowało, że wam walkmany drzazgą w oku?"
E tam, kolonoskopy to jest sprzęt! :F
24-85 Nikona pieknie wpisuje się w trafnie zdefiniowaną kiedys regułę mówiąca, że kazde stare rozwiązanie zostanie zaoferowane ponownie pod nową nazwą i w nowej cenie :) A oprócz niego Nikon wprowadzi jeszcze 18-300 DX.
Canon EOS 70D & 3D
link