Przetwarzanie danych osobowych

Nasza witryna korzysta z plików cookies

Wykorzystujemy pliki cookie do spersonalizowania treści i reklam, aby oferować funkcje społecznościowe i analizować ruch w naszej witrynie, a także do prawidłowego działania i wygodniejszej obsługi. Informacje o tym, jak korzystasz z naszej witryny, udostępniamy partnerom społecznościowym, reklamowym i analitycznym. Partnerzy mogą połączyć te informacje z innymi danymi otrzymanymi od Ciebie lub uzyskanymi podczas korzystania z ich usług i innych witryn.

Masz możliwość zmiany preferencji dotyczących ciasteczek w swojej przeglądarce internetowej. Jeśli więc nie wyrażasz zgody na zapisywanie przez nas plików cookies w twoim urządzeniu zmień ustawienia swojej przeglądarki, lub opuść naszą witrynę.

Jeżeli nie zmienisz tych ustawień i będziesz nadal korzystał z naszej witryny, będziemy przetwarzać Twoje dane zgodnie z naszą Polityką Prywatności. W dokumencie tym znajdziesz też więcej informacji na temat ustawień przeglądarki i sposobu przetwarzania twoich danych przez naszych partnerów społecznościowych, reklamowych i analitycznych.

Zgodę na wykorzystywanie przez nas plików cookies możesz cofnąć w dowolnym momencie.

Optyczne.pl

Aktualności

O tym się mówi, czyli plotki i ploteczki z ostatniego tygodnia

O tym się mówi, czyli plotki i ploteczki z ostatniego tygodnia
18 stycznia
2026 19:05

Zapraszamy do lektury naszego cotygodniowego zestawienia najciekawszych plotek dotyczących premier aparatów i obiektywów.

Uwaga! Poniższe informacje w większości nie są oficjalnymi informacjami producentów i pochodzą często z nieznanych i niepotwierdzonych źródeł, które publikowane są w portalach:

Canon

Coś dla miłośników patentów

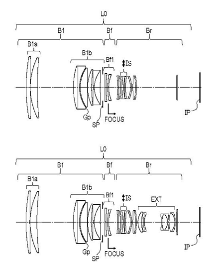
W sieci pojawił się trzeci w ostatnim czasie patent Canona, opisujący konstrukcję optyczną obiektywu RF 35 mm f/1.2. Dwa poprzednie publikowaliśmy w „plotkach” sprzed ok. miesiąca.

O tym się mówi, czyli plotki i ploteczki z ostatniego tygodnia

Kolejny patent dotyczy obiektywu RF 300 mm f/2.8 w dwóch wersjach: z wbudowanym telekonwerterem 1.4x i bez.

O tym się mówi, czyli plotki i ploteczki z ostatniego tygodnia

Ostatni prezentowany dziś wniosek Canona opisuje obiektyw ultraszerokokątny RF 14 mm f/1.4 VCM

O tym się mówi, czyli plotki i ploteczki z ostatniego tygodnia

Fujifilm

X-T6

W wietnamskim sklepie FujifilmShop opublikowano specyfikację niezaprezentowanego jeszcze modelu X-T6. Oto ona:
  • Korpus - lekki i wytrzymały, o masie ok. 550 g, uszczelnienia (praca w temperaturach do -15°C),
  • Matryca - APS-C X-Trans CMOS 6 HR BSI, 40 MPix,
  • X-Processor 6,
  • Stabilizacja o skuteczności do 8 EV,
  • Autofokus - 500 punktów z detekcją fazy, AF-C z AI
  • Tryb seryjny do 60 kl/s,
  • 3" ekran dotykowy, 1,84 mln punktów, odchylany i obracany,
  • Wizjer OLED 3.69 mln punktów, o powiększeniu 0,8×
  • Zapis 8K 30p, 4:2:2 10-bit, 4K HQ z oversamplingu 8K,
  • F-Log2, do 14 EV zakresu dynamicznego
  • Wyjście 12-bit ProRes / Blackmagic RAW przez HDMI,
  • Tryb Pixel Shift 200 MPix (łączenie 20 zdjęć),
  • Migawka: elektroniczna do 1/18000 s, mechaniczna do 1/8000 s,
  • Zasilanie - akumulator NP-W235 (do 750 zdjęć na jednym ładowaniu).
Mówi się, że jego premiera odbędzie się we wrześniu br.

Coś dla miłośników patentów

Kolejną ciekawostką jest patent opisujący konstrukcję obiektywu XF 18 mm f/2 WR II z wewnętrznym ogniskowaniem.

O tym się mówi, czyli plotki i ploteczki z ostatniego tygodnia

Leica

35 mm f/1.2

Podobno obiektyw Noctilux 35 mm f/1.2, o którym już wspominaliśmy w naszych „plotkach” oficjalnie ujrzy światło dzienne 29 stycznia, czyli już za ok. półtora tygodnia.

O tym się mówi, czyli plotki i ploteczki z ostatniego tygodnia

Tamron

Coś dla miłośników patentów

W sieci można znaleźć wniosek patentowy od Tamrona, opisujący konstrukcję optyczną obiektywu 28-70 mm f/2. Przypominamy, że instrumenty o tych parametrach mają już w swojej ofercie dwie firmy: Canon oraz Sony.

O tym się mówi, czyli plotki i ploteczki z ostatniego tygodnia

Sony

Nowe obiektywy na CP+

Podobno podczas targów CP+ 2026, Sony zaprezentuje trzy nowe obiektywy: dwie wersje telezoom-a 100-400 mm (f/4 GM oraz G o nieznanej jeszcze światłosile) oraz szerokokątny 18-26 mm f/2 GM. Ponadto, autor serwisu sonyalpharumors twierdzi, że od połowy br. czeka nas prawdziwa ofensywa premier produktów Sony, aczkolwiek nie zdradza żadnych szczegółów.

Viltrox

Obiektywy z L-mount

Mimo, iż Viltrox należy do „L-mount Alliance” już od pewnego czasu, nadal nie zobaczyliśmy żadnego obiektywu z tym mocowaniem. Plotka głosi, że pierwszy instrument (bądź instrumenty) zobaczymy jeszcze zanim przyjdzie wiosna.

O tym się mówi, czyli plotki i ploteczki z ostatniego tygodnia


Komentarze czytelników (81)
  1. Bahrd
    Bahrd 18 stycznia 2026, 19:26

    "Ostatni prezentowany dziś wniosek Canona opisuje obiektyw ultraszerokokątny RF 14 mm f/1.4 VCM", który ma mieć promień koła obrazu jedynie 18.68mm.

    Pewnie pod film w sam raz, ale fani open-gate mogą poczuć się oszukani?

  2. PDamian
    PDamian 18 stycznia 2026, 19:39


    Zabrakło jeszcze jednej plotki o Viltroksach z mocowaniem

  3. JarekB
    JarekB 18 stycznia 2026, 19:43

    Dobrze, że w Plotkach skończyła się świąteczno-noworoczna flauta.

    Skoro już wspomniano o Tamronie 28-70/2, to przyjrzałem się testowi Soniacza 28-70/2 i tego co się w tamtejszych komentarzach wyrabiało. Pod testem Tamrona tak nie będzie, bo Tamron daje nadzieję na obiektywy z 'tym' bagnetem...

    BTW - Soniacz wówczas kosztował 16k, a dzisiaj kosztuje 16k. Albo nie było podatku od nowości, albo popyt ogromny.

  4. OjTam
    OjTam 18 stycznia 2026, 19:47

    Ten patent Tamrona to nic nowego.
    Chyba nawet samo optyczne o nim pisało. Jak się komuś chce przeszukać ploty, to bodajże koniec listopada tamtego roku.

    Do tego jest to drugi patent Tamrona na 28-70/2. Oba różnią się wielkością.


    A skoro to temat o plotach, w Chinach poszła plota, że Nikon pozwie Viltroxa za naruszenie patentów.

  5. boa ksztusiciel
    boa ksztusiciel 18 stycznia 2026, 20:59

    O co chodzi w tym 18mm f2 wr II z wewnętrznym ogniskowaniem xD??

  6. BlindClick
    BlindClick 18 stycznia 2026, 21:22

    Nic o Nikonie pozywajacym Viltroxa?

  7. mason
    mason 18 stycznia 2026, 21:45

    @BlindClick

    Chcesz zepsuć promocję "zima z nikonem"? Wiele osób może się nagle (słusznie) wstrzymać z zakupem.

  8. JarekB
    JarekB 18 stycznia 2026, 21:49

    Niby czemu ktoś mógłby się wstrzymać z zakupem i to słusznie? Internety teraz rozstrzygają domniemane spory prawne? No i dlaczego brać telefoniczna zajmuje się tzw. dedykowany sprzętem fotograficznym?

  9. qqrq
    qqrq 18 stycznia 2026, 21:56

    @JarekB
    "Pod testem Tamrona tak nie będzie, bo Tamron daje nadzieję na obiektywy z 'tym' bagnetem..."

    Mówisz, że jest szansa na mocowanie pod jedynie słuszny bagnet GFX? :D (żarcik ofkors)

  10. molon_labe
    molon_labe 19 stycznia 2026, 05:29

    mason

    Masz na myśli, że ... ktoś kupuje Nikona ze względu na optykę Viltrox'a?

    To tak jak kupić Porsche i zainstalować LPG.

  11. molon_labe
    molon_labe 19 stycznia 2026, 05:43


    To wielkie zdjęcie z L-mount, to zapowiedź Leica show.. "Kiedy luksus spotyka oszczędność..." ?

    Leica będzie brendować Viltrox' a? - bezcenne ...obok loga Leica, będzie naklejka "Viltrox inside" ?

    Trzymając się motoryzacyjnych porównań, to w tym przepadku to jak..

    Tesla S z fabryczną instalacją na gaz....

  12. qqrq
    qqrq 19 stycznia 2026, 07:50

    @molon_labe
    Dlaczego "Viltrox'a", a nie "Viltroxa"?


    "To tak jak kupić Porsche i zainstalować LPG"

    Poprawię to zdanie dla Ciebie:
    "To tak jak kupić co się chce i używać jak się chce"

  13. molon_labe
    molon_labe 19 stycznia 2026, 08:02

    "Poprawię to zdanie dla Ciebie:
    "To tak jak kupić co się chce i używać jak się chce" "

    Nie prosiłem o to, ponieważ to Twoje zdanie brzmi atrakcyjnie, bo sugeruje pełną wolność. ale w praktyce jednak posiadanie rzeczy nie oznacza pełnej dowolności w jej używaniu.
    Używanie zgodnie z przeznaczeniem chroni użytkownika i otoczenie przed niepożądanymi konsekwencjami.

    Przeznaczenie to nie kaprys producenta, ani tym bardziej ograniczenie wolności — to wynik testów, norm, bezpieczeństwa i ..zdrowego rozsądku.

  14. Bahrd
    Bahrd 19 stycznia 2026, 08:31

    Zapięcie Viltroxa do Lejki może mieć jakieś poważne niepożądane konsekwencje? Inne niż nadwątlenie reputacji przypisywanej "prawdziwej" optyce? ;)

  15. molon_labe
    molon_labe 19 stycznia 2026, 08:36

    Bahrd
    Oczywiście.

  16. JarekB
    JarekB 19 stycznia 2026, 08:51

    Światłą nad wyraz była decyzja Canona, aby zamknąć bagnet i nie narażać użytkowników na niebezpieczeństwo i postępowanie niezgodne ze zdrowym rozsądkiem. Ręce wiwat!

    Sony i Nikon próbują ograniczyć wpływu mezaliansów wprowadzające okresowo aktualizacje softu, które unieruchamiają obiektywy przywleczone z czworaków, ale Leica niestety stoi nad krawędzią. Huawei i Xiaomi nie dokonali tego, czego dokona teraz Viltrox.

  17. molon_labe
    molon_labe 19 stycznia 2026, 09:01

    :)
    JarekB
    może napiszesz coś równie ironicznego o zamkniętym System Apple?

  18. molon_labe
    molon_labe 19 stycznia 2026, 09:12

    Konsekwentnie zamknięty system Canona daje użytkownikom stabilność, jakość, przewidywalność , spójność i kontrolę nad starzeniem się, czyli nad erozją wartości narzędzi w czasie, spowodowaną niskimi cenami wewnętrznej konkurencji.

    To oferta dla biznesowa.

  19. mason
    mason 19 stycznia 2026, 09:15

    @ molon_labe

    Bzdura.

    Po pierwsze, Nikon to żadne Porsche.

    Po drugie, Nikon ma korpusy profesjonalne oraz amatorskie. Amator nie będzie kupował obiektywu za 10k do taniego korpusu.

    Po trzecie, jest format DX typowy dla amatorów

    Po czwarte, obiektywy Viltrox DX nie tylko wypełniają lukę w ofercie Nikona ale są często po prostu lepsze (niedawno nawet był testowany tutaj) i o połowę tańsze.

    Co nie zmienia faktu, że firma ma prawo chronić swoje patenty i jeśli Viltrox to typowy chiński złodziej, niech płaci karę i/lub opłatę licencyjną albo niech ich blokują aktualizacjami.

    Uderzy to oczywiście w użytkowników, dla których zmniejszona podaż tanich obiektywów jest zawsze problemem.

  20. mason
    mason 19 stycznia 2026, 09:21

    Nie zapominajmy również, że Porsche nie produkuje większości podzespołów, tylko zamawia je u dostawców.

    Czy to przypadkiem nie Nikon swoje ostatnie profesjonalne lustrzanki nie wyposażył w matryce Samsunga? Krąży nawet legenda, że Samsung szybko zamknął udaną serię NX z nowatorskimi matrycami, bo bardziej opłacało się sprzedać patent Nikonowi. I nagle te matryce pojawiły się w nikonach :D

    Obecnie chyba kupują je od Sony?

  21. JarekB
    JarekB 19 stycznia 2026, 09:26

    :-)
    Istnieje świat z otwartym systemem Androida i zamknietym systemem Apple, a ten drugi podobno dopuszcza stosowanie akcesoriów obcych, rozmaitych kabelków, powerbanków, obudów na telefony. W oficjalnym sklepie Apple można kupić akcesoria obce, w tym inteligentny kubek do picia płynów rozmaitych, gdzie picie wspierane jest aplikacją ...

    link

  22. JarekB
    JarekB 19 stycznia 2026, 09:31

    'jeśli Viltrox to typowy chiński złodziej'

    Pomijając chamstwo tego rodzaju wypowiedzi, to dodatkowego smaczku nadaje jej fakt, że popełnił ją wyznawca chińskiej fotografii telefonicznej.

  23. Ryzbor
    Ryzbor 19 stycznia 2026, 09:46

    18-26 F2? bardzo dziwny i nijaki zakres, o wiele ciekawsze byłoby 15-24 albo 14-20.

    Nikon jako Porsche? XD Nikon to system dla biedaków których nie stać na Canona albo na Sony. Do niedawna nie potrafili zrobić body z sensownym AF-C i z siatką trójpodziału.

  24. JarekB
    JarekB 19 stycznia 2026, 10:49

    Już 2 osoby doczytały się porównania Nikona do Porsche, tymczasem tego porównania nie było, było jedynie zastosowanie analogii, która wszakże nie jest tak skomplikowaną konstrukcją literacką, aby jej nie ogarniać. Podpowiem - porównania Lajki do Tesli również nie było.

  25. PDamian
    PDamian 19 stycznia 2026, 11:12


    System dla biedaków
    to ten do którego masowo są kupowane kundle.

    Sprawdźmy link

  26. JarekB
    JarekB 19 stycznia 2026, 11:28

    To on, to on, to on się przezywa! Wesoły mamy dzień - mezalianse, systemy dla biedaków, typowi złodzieje i kundle.

  27. mason
    mason 19 stycznia 2026, 11:44

    @PDamian

    Swoją drogą, co trzeba mieć we łbie, żeby dać na tym samym wykresie 4 odcienie niebieskiego :D

  28. Jarun
    Jarun 19 stycznia 2026, 12:14

    @molon_labe napisał:
    „To wielkie zdjęcie z L-mount, to zapowiedź Leica show.. "Kiedy luksus spotyka oszczędność..." ? 

Leica będzie brendować Viltrox' a? - bezcenne ...obok loga Leica, będzie naklejka "Viltrox inside" ?”

    A ja nie mogę się doczekać obiektywów Viltroxa z mocowaniem L-mount.
    Do Lumixa S9 jak znalazł.

  29. vulkanwawa
    vulkanwawa 19 stycznia 2026, 12:23

    Luxus do mieć zdrowie i być szczęśliwym a nie jakieś martwe przedmioty jak Porsche, Nikon, Canon, Thrmomix itp. niektórych to już konkretnie pop..... albo są zaorani przez marketingową machinę i traktują tę "martwicę" niemal jak religię ... materialne rzeczy to tylko narzędzia które ułatwiają życie nic poza tym.

  30. Bahrd
    Bahrd 19 stycznia 2026, 12:36

    Molon: "To oferta dla biznesowa."

    Ano... Nie wiem, czego uczą teraz akademie ekonomiczne, ale uczelnie techniczne (chyba!) i samo życie (na pewno - skoro są znane na ten temat przysłowia) uczą inżynierów rozróżniania pojęć optymalizacji lokalnej (krótkowzrocznej, zachłannej) i globalnej (dalekosiężnej)†.

    Więc gdy "system ma pamięć", czyli m.in. decyzje mają konsekwencje a zasoby są ograniczone, to można się wypstrykać na gonieniu doraźnych króliczków albo wpuszczając na rewir innych łowców.
    Z drugiej strony - patrząc za daleko - łatwiej znienacka zwichnąć nogę w króliczej norze.


    Sam jestem ciekaw, czy i na ile lawina tanich (ale co najmniej niezłych, a już na pewno wystarczająco dobrych‡ szkieł) zmieni na trwałe krajobraz w naszym wąwozie (niszy!) wymiennej optyki.


    † W wojsku odróżniają taktykę od strategii (zdaje się z poziomem operacyjnym gdzieś pomiędzy) itd. itp.
    ‡ I wystarczająco niezawodnych! Z drugiej strony - padł mi właśnie AF w piętnastoletnim EF 100/2.8 IS L Macro. Serwis mówi o kwocie rzędu 900zł. To jednak sporo, więc raczej zostanę użytkownikiem manuala - ale za to ze stabilizacją! ;) I/lub przeproszę się na wiosnę z Tamronem 180mm f/3.5 (z czymś na kształt AF i na pewno bez IS!)

  31. Bahrd
    Bahrd 19 stycznia 2026, 12:37

    PS
    O właśnie - sprawdzę jak się sprawdzi "focus bracketing" z Tammym!

  32. Bahrd
    Bahrd 19 stycznia 2026, 12:43

    vulkanwawa: "materialne rzeczy to tylko narzędzia które ułatwiają życie nic poza tym."

    Generalnie - zgoda! Ale np. mój rower słysząc te słowa - obraziłby się (gdyby mógł ;). Hobby jakieś trzeba mieć - właśnie dla zdrowia!

  33. molon_labe
    molon_labe 19 stycznia 2026, 12:53

    Jarun
    ..nie załapałem Twojej logiki.

    Kupiłeś aparat i czekasz na jakieś bliżej nieokreślone obiektywy Viltrox'a w bliżej nieokreślonym czasie.....
    ...lub zamierzasz kupić aparat ...kiedy takie obiektywy będą....
    ...podczas gdy jest system Sony, gdzie obiektywy Viltrox' a ze wszystkimi możliwymi 3literowymi nazwami już są?

    Ale o co chodzi?

  34. mason
    mason 19 stycznia 2026, 13:17

    @vulkanwawa

    A co gdy masz zdrowie, poukładane życie osobiste i nadmiar pieniędzy? ;-) Dobroczynność?

    Luksus jest zbędny ale uzależnia. Mówimy jednak o aparatach/obiektywach a te nie zaliczają się do dóbr luksusowych (nawet jeśli są drogie). Wyjątkiem są jakieś serie kolekcjonerskie czy biżuteryjne typu Leica.

  35. molon_labe
    molon_labe 19 stycznia 2026, 13:20

    Bahrd
    :)
    "Sam jestem ciekaw, czy i na ile lawina tanich..."

    ... to nie jest tak skomplikowane, wszystko mieści się w logice prowadzenia biznesu przez korporacje.

    Leica robi biznes w optyce i aparatach 93 lata, Nikkon zdaje się też..Canon 60-70 lat. i wyprodukował ponad 150 milionów sztuk wszystkich możliwych obiektywów i opatentował kilkanaście tysięcy obiektywowych rozwiązań.....
    .
    ..a Viltrox od 2018 roku produkuje kilka stałoogniskowych konstrukcji z tymi samymi powtarzalnymi wadami, w przeszkadzających w robieniu interesu korporacjom cenach.

    Wygrani w tej grze są już znani.....od co najmniej pół wieku.

  36. JarekB
    JarekB 19 stycznia 2026, 13:37

    'Viltrox od 2018 roku produkuje kilka stałoogniskowych konstrukcji z tymi samymi powtarzalnymi wadami, w przeszkadzających w robieniu interesu korporacjom cenach'

    W 2025 12 premier, ale przynajmniej od 2018 tylko kilka. Viltrox ma powtarzalne wady i dlatego w wielu testach wypada lepiej niż firmach dzialających od lat, one z kolei powtarzalnych wad nie prezentują. To uspokaja.


    'Wygrani w tej grze są już znani.....od co najmniej pół wieku'
    Tak myśleli Kodak, Olympus, Minolta i (zapewne) inni.

  37. JarekB
    JarekB 19 stycznia 2026, 13:50

    ' Mówimy jednak o aparatach/obiektywach a te nie zaliczają się do dóbr luksusowych (nawet jeśli są drogie).'

    Zdecydowanie się nie zgadzam. Obiektywy/aparaty sa produktami zbędnymi, a tym samym lukusowymi. Można to całe badziewie zastąpić smartfonem i górę zaoszczędzonej kasy przeznaczyć na cokolwiek innego, np. na podróże (ze smartfonem) lub dobroczynność.

    Warto poczytać gościa, który o tym przekonująco się wypowiada (i to w wielu odcinkach).
    link


    /s

  38. mason
    mason 19 stycznia 2026, 13:52

    Nic tak nie bawi jak kundelki żebrzące od wielu dni o atencję ale nie mogą się doczekać i nie doczekają kości rzuconej w pysk :D

  39. molon_labe
    molon_labe 19 stycznia 2026, 13:59

    ....12 premier...sporo...

    ..ale nie rozumiem co Kodak, Olympus, Minolta ...

  40. JarekB
    JarekB 19 stycznia 2026, 14:03

    Ponieważ to forum słynie z cytatów pieśni sprzed stuleci, to 'Dobrej zabawy nigdy dość'. Kundelek, kośc rzucona w pysk... Vivotrollownia nabiera temperatury roboczej.

  41. mason
    mason 19 stycznia 2026, 14:05

    zabawne, kto zaregował na zawołanie "kundelek" :D

  42. mason
    mason 19 stycznia 2026, 14:05

    a teraz bez odbioru :-)

  43. Bahrd
    Bahrd 19 stycznia 2026, 14:06

    Molonie, rozumiem, że na to, że rozmawiamy o niszy, zgodziłeś się mimochodem?

    Okresowi ochronnemu genialnego patentu Canona na Dual Pixel AF minął chyba półmetek - więc za z okładem dekadę będzie w każdej matrycy. Masz pomysł na inny - równie przełomowy - pomysł?

  44. JarekB
    JarekB 19 stycznia 2026, 14:12

    Zabawne kto zareagował na 'vivotrollownia' i ... na całą resztę. Do zobaczenia mości fotografie, to nie jest 'Road to nowhere'.

    Się max!

    :-)

  45. baron13
    baron13 19 stycznia 2026, 14:22

    O obiektywach formowych i kundlach. Pisałem wiele razy. Obiektyw, to narzędzie, ma konkretne parametry i w konkretnych warunkach różne parametry są ważne. Jedne ważniejsze, inne mniej, a czasami te zasadniczo najważniejsze, jak rozdzielczość, nie ważne. To wszystko zależy, na przykład od przedziału wielkości. Mam na przykład 800 mm w dwóch wydaniach. Oba... kundle. Jeden kundel firmowy, czyli Canon 800 mm f/11 i drugi Samyang 800 mm f/8.0 lustrzany. Owszem, Canon jest lepszy w decydującym parametrze, czyli rozdzielczości, od Samyanga. Ale Samyang jest jaśniejszy. I lżejszy i mniejszy. I tańszy. Ryzyko straty mniejsze. Trudno sobie to wyobrazić, ale już byłem na imprezach, gdzie ów Samyang się przydał do robienia fotorelacji. W internetowej rozdzielczości nikt, zwłaszcza jak się nie umieszcza informacji o sprzęcie, nie rozróżni , to szkło lepsze, to gorsze. Raczej sposób obróbki. Mam też kilka wydań obiektywów 300 mm, w tym lustrzanego Samyanga. Ten o dziwo góruje nad Canonami typu 70-300, minimalną CA. Jest oczywiście bardzo lekki. Ale nie jest zoomem, nie ma stabilizacji. Konkluzja. Wątpię, że zamknięcie bagnetu "zrobiło dobrze" użytkownikom Canona, bo Canon oferuje akurat do RF bardzo ograniczoną liczbę szkieł. Do tego nie ma rozwiązań specyficznych, do nietypowych, czy po prostu trudniejszych warunków. Czy to poprawia pozycję C na rynku? Także wątpię. Pożyjemy zobaczymy, ale ciągle się zastanawiam nad "atomową opcją" , zakupu korpusu Sony, pod te inne obiektywy. Myślę, że zwłaszcza dla osób z małą ilością sprzętu Takie rozwiązanie wydaje się w tych okolicznościach przyrody bardzo atrakcyjne. Po prostu: firma walczy o zysk, ale jej pracownicy nie walczą o zyski firmy, tylko własny. Proponują rozwiązania, które mają być "długofalową strategią", a użytkownicy widzą, że nie ma tego, czy tamtego, co być by mogło i bardzo by się przydało. Warto pamiętać o przypadkach firm, które np otwarły konstrukcje płyty głównej czy kod i tym zawojowały świat.

  46. molon_labe
    molon_labe 19 stycznia 2026, 14:29

    Bahrd
    ...japońska nisza narodowa.....
    :)
    Stawiki cła na "aparty" w US negocjował podobno wicepremier, podczas gdy na samochody ..minister.

    Canon ma "Canon Quad Pixel AF" ..ten rodzaj AF był i jest testowany w OM 1, jako własna implementacja OM-D...na małej matrycy bo na 4 razy większej potrzebuje silnego procesora itd...miał być w R1, ale chyba Canon ostatecznie nie chciał zbytnio zdystansować się od pozostałych :)
    To byłoby ..demotywacyjne ..

  47. PDamian
    PDamian 19 stycznia 2026, 15:24


    "To wielkie zdjęcie z L-mount, to zapowiedź Leica show.. "Kiedy luksus spotyka oszczędność..." ?
    /.../ obok loga Leica, będzie naklejka "Viltrox inside" ?
    /.../ to jak Tesla S z fabryczną instalacją na gaz.... "


    -Dokładnie.
    Zanim Leica nie wróci do robienia własnych matryc powinna obok loga Leica, być naklejka "Sony inside" na aparatach. 🤣

    Obiektywy Viltrox są autorskie.
    Mają nawet autorskie viltroksowe powłoki. 🤣 🤣

  48. Bahrd
    Bahrd 19 stycznia 2026, 15:56

    Molon: "chyba Canon ostatecznie nie chciał zbytnio zdystansować się od pozostałych :)"

    Chyba zwyczajnie nie mógł... Architektura Dual/Quad Pixel zapewne bardzo zyska, gdy uda się ją zrealizować w układach warstwowych. No i - zdaje mi się - R1 miał mieć nie tyle Quad Pixels, co Dual Pixels ułożone naprzemiennie w pionie i w poziomie?

  49. Bahrd
    Bahrd 19 stycznia 2026, 16:04

    Damian: "Zanim Leica nie wróci do robienia własnych matryc powinna obok loga Leica, być naklejka "Sony inside" na aparatach."

    Formalnie - skoro "inside", to wystarczy stosowna naklejka "inside"? W końcu "najważniejsze jest niewidoczne dla oczu!".

    Poza tym - wydaje mi się, że Leica nie będzie "robić własnych matryc" - co najwyżej zaprojektuje je i zleci wykonanie: [ link ].

  50. PDamian
    PDamian 19 stycznia 2026, 16:39

    I to miałem na myśli, że zaprojektuje

    -czyli tak jak Nikon.

  51. ad1216
    ad1216 19 stycznia 2026, 17:10

    PDamian jak zwykle pluje jadem na Sony ale kogo to obchodzi? Psy i kundle szczekają a karawana jedzie dalej i Sony wraca na szczyty list sprzedaży z A7V. :))

  52. ad1216
    ad1216 19 stycznia 2026, 17:18

    link a w Polsce od dawna wszystkie A7V sprzedane. Sony nie nadąża z produkcją

  53. Jarun
    Jarun 19 stycznia 2026, 17:45

    @molon_labe napisał:
    „...podczas gdy jest system Sony, gdzie obiektywy Viltrox' a ze wszystkimi możliwymi 3literowymi nazwami już są?”

    No, są…
    Ale widzę, że masz problem z tym, że będą dostępne również pod L-mount.

  54. Bahrd
    Bahrd 19 stycznia 2026, 19:27

    Damian: "I to miałem na myśli, że zaprojektuje."

    Jak to w takim razie rozumieć? Że ludzie są gotowi zapłacić za Lejkę, tyle ile sobie Lejka zażyczy - pod warunkiem, że będzie się za nią kryła jakaś Lejkowa oryginalność, wysiłek intelektualny inżynierów? A nie tylko elegancki i stylowy "repackaging"?

  55. JarekB
    JarekB 19 stycznia 2026, 21:37

    Klient Lejki zapłaci tyle, ile sobie Lejka zażyczy. Bez warunków wstępnych.

    link

    Trochę podobnie jest z Canonem i bagnetem R, choć poziom cenowy jest inny i niewielka konkurencja na rynku podobno istnieje ;-)

  56. vulkanwawa
    vulkanwawa 19 stycznia 2026, 21:51

    W sieci już sporo testów i jednak matryca, także w postprodukcji z A7V jest
    lepsza od R6 III ma także fajny LCD a jak jeszcze Sony wypuści mały A7C III z tą matrycą no to będzie kolejny hit sprzedaży.

  57. qqrq
    qqrq 20 stycznia 2026, 11:22

    @PDamian
    "System dla biedaków to ten do którego masowo są kupowane kundle."

    To też do poprawienia:
    "Każdy system pełnoklatkowy jest dla biedaków. Szlachta zaczyna się od średniego formatu."

  58. Bahrd
    Bahrd 20 stycznia 2026, 13:08

    ... a to i tak ponoć nie wcześniej niż po trzecim obiektywie! :)

  59. BlindClick
    BlindClick 20 stycznia 2026, 13:47

    Ale chyba też Szlachta sama zdjęć nie robi?
    Tylko nie wiem czy teraz się dalej wola: Janie! czy już iAnie!

  60. qqrq
    qqrq 20 stycznia 2026, 14:18

    Giermek taszczy sprzęt i statyw, ustawia wszystko, a Szlachta klika spust migawki. Ale tylko raz, bo inaczej się może przepracować i palec zwichnąć.

  61. molon_labe
    molon_labe 20 stycznia 2026, 15:19

    "Giermek taszczy sprzęt i statyw, ustawia wszystko..." - z tym akurat się zgodzę, tak są na powrót realizowane profesjonalne sesje.

    Sesje mają po prostu scenopis, ujęcia. ..wszystko w detalach... fotograf robi najpierw "program obowiązkowy" a następnie trochę w "stylu dowolnym".

    Jest powrót do tego, co już było dobra praktyką, tylko potem było ciągle "taniej...taniej" i rezygnowano z wielu elementów. Fotografia stała się "amatorska" tak bardzo, że wydawało się że "generowane obrazy przez AI" ją zastąpią, bo wyglądały lepiej, właśnie dlatego, że naśladowały i trenowały się na tej kosztownej klasyce.

    Ten nowy-stary trend w połączeniu z obecnymi środkami technicznymi daje niesamowite zdjęcia ... bez suwakowania.

  62. Bahrd
    Bahrd 20 stycznia 2026, 15:41

    qqrq: "Ale tylko raz, bo inaczej się może przepracować i palec zwichnąć."

    Może - zwłaszcza, gdy na własnych barkach dźwiga zażywne id i spore ego (no i asteniczne - ale jednak - superego... :)

  63. Bahrd
    Bahrd 20 stycznia 2026, 16:13

    A właśnie, Mości Baronie, zdjąłeś acan wczoraj zorzę polarną nad miastem? ;)

  64. patkon
    patkon 20 stycznia 2026, 19:16

    Jest szansa aby na zlocie czy aktualnie modnych streamach online zrobić jakieś walki w klatce dla co niektórych tutaj walczących na obelgi fotografów? Każdy bierze do ręki jeden wylosowany gadżet foto i trzy szybkie rundy ewentualnie do pierwszej krwi. Jakieś małe oczyszczenie atmosfery dobrze wszystkim zrobi. Poluzujcie gumę bo wam pęknie żyłka. Im więcej sprzętu na rynku tym lepiej dla wszystkich. Fajnie że Viltrox się dynamicznie rozwija bo wszyscy muszą oglądać się za siebie i uciekać.

  65. qqrq
    qqrq 21 stycznia 2026, 00:06

    Dla niektórych Viltrox to zawsze będzie kundel więc nie ważne jak dobrych szkieł by nie robili, to ciągle się nie będą liczyć... bo tylko obiektywy czystej maści, z rodowodem, mogą być używane do łechtania sobie ego :D

  66. mason
    mason 21 stycznia 2026, 09:17

    @qqrq

    Ten sam typ uwstecznionej osobowości jęczał, gdy ktoś proponował w latach 60. japoński aparat zamiast jedynych słusznych ze stajni Leitz lub Zeiss. Człowieka łatwiej oszukać niż wyprowadzić z błędu.

  67. molon_labe
    molon_labe 21 stycznia 2026, 10:05

    :)
    Moim zdaniem obiektywy Viltrox prezentują przeciętny poziom, przypominający japońską technikę sprzed kilku lat. Konstrukcyjnie skupiają się na ostrym centrum kadru, zaniedbując korekcję wad optycznych, zwłaszcza pracy pod światło. Ich marketing opiera się głównie na niskiej cenie i podkreślaniu „dobrego stosunku jakości do ceny”.

    Wprowadzenie Viltroxa do "mojego" systemu L‑mount oceniam jako dla mnie niekorzystne, ponieważ:
    - nie daje mi przewagi w pracy zawodowej,
    - może osłabić presję na tempo wprowadzania i rozwój wysokiej klasy obiektywów Sigmy i Panasonica,
    - oddanie segmentu tanich "szkieł" może prowadzić do rekompensaty i wzrostu cen produktów Sigmy i Panasonica tak obiektywów, jaki i apartów

    Korzyści z tanich obiektywów Viltrox mnie nie dotyczą, a ich obecność może negatywnie wpłynąć na ofertę całego systemu L‑mount, który stanowi podstawę mojego "warsztatu".
    Dziękuję za uwagę.

  68. Bahrd
    Bahrd 21 stycznia 2026, 10:55

    Molon: "oddanie segmentu tanich "szkieł" może prowadzić do rekompensaty i wzrostu cen produktów Sigmy i Panasonica tak obiektywów, jaki i aparatów"

    A ja postawię tezę przeciwną: tanie szkła - o ile doprowadzą do zwiększenia udziału L-mount w rynku - pozwolą na ambitniejsze projekty R&D, tak w zakresie aparatów jak i optyki.

    Nie ma za co! ;)

  69. JarekB
    JarekB 21 stycznia 2026, 11:05

    @molon_labe
    Wtym co napisałeś najważniejsze dla mnie jest to, że kilka razy podkreślałeś, że jest to Twój punkt widzenia. zbyt dużo mamy prób prezentacji prawd uniwersalnych i zbyt mało podkreślania, że jest osobisty punbkt widzenia wynikający przykładowo z konkretnej sytuacji zawodowej/fotograficznej.

    Z mojego punktu widzenia zagrożenie ograniczenia innowacji po stronie Sigmy jest mało realne, bo Sigma zdecydowaną większość swoich obrotów realizuje na bagnecie E, a tam ma ostrą sytuację z góry (Sony GM) i silną konkurencję z dołu (choćby Viltrox czy Tamron). Nie widzę również zagrożenia dla cenowego pozycjonowania korpusów, bo tam sytuacja konkurencyjna jest jeszcze bardziej zlożona - ze swoją ofertą korpusów występują 'przeciw' firmom, które mają nie mniej niż 80% udziałów w rynku i jako 'junior partner' muszą znaleźć złoty środek cenowo-funkcjonalny, aby móc z istniejącego tortu wykrawać więcej dla siebie.

  70. molon_labe
    molon_labe 21 stycznia 2026, 11:10

    Bahrd
    "ambitniejsze"?...co przez to rozumiesz?

    Sigmie nie brakuje ambicji..2025 rok miała przecież pod tym względem najlepszy rok "ever" Coś o tym wiem, bo 2 obiektywy Sigma 135/1.4 i Sigma 35/1.2 II kupiłem.
    Panasonic też nie był w aparatach ..apatyczny... Lumix S1RII i Lumix S1II to bardzo dobre aparty,..i też coś o tym wiem..:)

    Obserwuję natomiast Sony...nie zauważyłem, aby po wprowadzeniu Viltroxa z mocowaniem E , podkreślano szczególne obniżenie cen premierach apartów i obiektywów Sony. A Ty?

  71. baron13
    baron13 21 stycznia 2026, 12:14

    @Bahrd:
    "A właśnie, Mości Baronie, zdjąłeś acan wczoraj zorzę polarną nad miastem? ;)"
    Nie... A pono nie było to takie trudne.

  72. Bahrd
    Bahrd 21 stycznia 2026, 12:23

    Molonie, mam na myśli jakieś przełomowe pomysły (albo chociaż przełomowe implementacje pomysłów) - niedawno jeszcze modne było określenie "disruptive technology", ale nie wiem, czy nie zdążyło się już zdezaktualizować, bo, np. pojawił się jeszcze bardziej "disruptive term"? ;).

    No chyba, że już się faktycznie technologia na potrzeby fotografii wysyciła i jedyne, co pozostało to "marginal gains"?

  73. Jarun
    Jarun 21 stycznia 2026, 12:58

    @molon_labe napisał:
    „Obserwuję natomiast Sony...nie zauważyłem, aby po wprowadzeniu Viltroxa z mocowaniem E , podkreślano szczególne obniżenie cen premierach apartów i obiektywów Sony. A Ty?”

    A zauważyłeś, aby po wprowadzeniu Viltroxa z mocowaniem E, nastąpiło szczególne podwyższenie cen aparatów i obiektywów Sony ? Pytam w nawiązaniu do Twojej tezy z dwóch postów powyżej:

    „- oddanie segmentu tanich "szkieł" może prowadzić do rekompensaty i wzrostu cen produktów Sigmy i Panasonica tak obiektywów, jaki i apartów”


    @molon_labe napisał:
    „Wprowadzenie Viltroxa do "mojego" systemu L‑mount oceniam jako dla mnie niekorzystne, ponieważ: 
[…]
- może osłabić presję na tempo wprowadzania i rozwój wysokiej klasy obiektywów Sigmy i Panasonica,”

    Hmm…
    A to nie jest tak przypadkiem, że konkurencja pobudza rozwój, a nie go osłabia.


    @molon_labe napisał:
    „Korzyści z tanich obiektywów Viltrox mnie nie dotyczą, a ich obecność może negatywnie wpłynąć na ofertę całego systemu L‑mount, który stanowi podstawę mojego "warsztatu”.”

    A czy obecność Viltroxa w systemie Sony E negatywnie wpłynęło na ofertę całego systemu ?
    Powtórzę to, co napisał już @JarekB. Dobrze, że wyraźnie podkreśliłeś fakt, że jest to Twój punkt widzenia.
    Vitrox to nie tylko tanie obiektywy do fotografii, ale również całkiem udane obiektywy z przeznaczeniem filmowym- w tym także Linia pełnoklatkowych obiektywów anamorficznych Viltrox Epic link
    W Twoim „warsztacie” może się one nie przydadzą, ale są tacy, którzy używają Lumixów S niekoniecznie do robienia zdjęć.

  74. molon_labe
    molon_labe 21 stycznia 2026, 13:42

    Jarun
    :D
    ..prowadzenie sporu poprzez zadawanie, tak jak ty, pozornie retorycznych pytań, to tak zwana "metoda sokratejska", prowadzenia sporu...

    okej, zatem...
    Zanim odpowiem, powiedz proszę, do jakiego wniosku zmierzasz.
    Jaka jest Twoja teza? Chcę wiedzieć, co właściwie chcesz udowodnić

  75. Bahrd
    Bahrd 21 stycznia 2026, 14:55

    Ja mam raczej ambiwalentne odczucia:

    1. Im technologia tańsza tym lepiej - bo w ten sposób redukuje się próg wejścia niezależny od zdolności, talentu, czy pomysłowości - czyli rośnie konkurencja.
    2. Ale... oferowanie (z takich czy innych† powodów) owoców tej technologii w cenach dumpingowych na dłuższą metę nie służy ani jej rozwojowi, ani też konkurencji.


    † Mnie się te "inne" nie wydają całkiem od rzeczy, ale... to fusy zupełnie nie z mojej szklanki... ;)

  76. Jarun
    Jarun 21 stycznia 2026, 15:40

    @molon-labe napisał:
    „Zanim odpowiem, powiedz proszę, do jakiego wniosku zmierzasz. 
Jaka jest Twoja teza? Chcę wiedzieć, co właściwie chcesz udowodnić”

    Podsumujmy Twoją teorię:
    Viltrox pod mocowanie Sony E jest OK, ale z mocowaniem pod Lumixa S Viltrox to zło w najczystszej postaci.
    Większa konkurencja na rynku jest zła dla konsumentów ponieważ prowadzi do wzrostu cen i obniża tempo rozwoju technologicznego.

    Masz oczywiście prawo do swojego zdania, ale ja się z Twoją teorią zwyczajnie nie zgadzam.
    Ekonomia zna przykłady, w których pojawienie się konkurencji spowodowało podniesienie cen- ale to zdecydowanie nie jest ten przypadek.

  77. molon_labe
    molon_labe 21 stycznia 2026, 15:53

    Jarun
    I tak właśnie dowiedzieliśmy się czegoś o Tobie.
    Twoja manipulacja moją teorią wyklucza dalsze traktowanie Cię z uwagą.

  78. JarekB
    JarekB 21 stycznia 2026, 16:04

    @Jarun
    Dokonałeś krystalicznie czystej maniuplacji. Po co to Tobie?

  79. Jarun
    Jarun 21 stycznia 2026, 18:52

    Manipulacja ?
    W której części mojego posta widzicie manipulację ?

    Czy manipulacją jest przypomnienie, że @molon_labe nie rozumie logiki zadowolenia z faktu wejście Viltroxa w L-mount, skoro „jest system Sony, gdzie obiektywy Viltrox' a ze wszystkimi możliwymi 3literowymi nazwami już są” ? (patrz posty powyżej).
    Czy manipulacją jest przypomnienie, iż zdaniem @molon_labe wejście konkurencji z tanimi „szkłami” do systemu „może prowadzić do rekompensaty i wzrostu cen produktów Sigmy i Panasonica tak obiektywów, jaki i apartów” ?
    Czy manipulacją jest odniesienie się do teorii @molon_labe, że wejście konkurencji w system L-mount „może osłabić presję na tempo wprowadzania i rozwój wysokiej klasy obiektywów Sigmy i Panasonica” ?

    Jedyną manipulacją jaką tu widzę, jest fakt, iż @molon_labe przypomniał sobie nagle (lub ktoś mu to uświadomił), że L-mount to nie tylko Leica i próbuje przerzucić swoją awersję do Viltroxa w L-mount na Lumix S, tworząc przy okazji jakieś niesamowite wygibasy intelektualne przeczące podstawowym prawom ekonomi.

    @molon_labe może nie lubić Viltroxa, może z niego nie korzystać i może go omijać szerokim łukiem. Ma do tego prawo i mi nic do tego. Każdy ma jakieś swoje preferencje oraz swoje wybory i (tak mi się wydaje) należy te wybory szanować. Jeśli jednak poddaje on w wątpliwość moją logikę tylko dlatego, że wyraziłem zadowolenie z wejście Viltroxa w L-mount (a przecież mogłem wybrać Sony, bo tam już Viltrox jest), to będę wytykał mu każdą głupotę, jaką w tej kwestii on napisze.

  80. BlindClick
    BlindClick 21 stycznia 2026, 22:38

    Ja się zgodze i z Molon_labe. Canon jest jedna strona tu, system 100% zamknięty.
    System jest przewidywalny.
    A nowy gracz wprowadza. zaburzenie, niby tani, ale nie daje 100% możliwości, AF, sprawność podsystemu AI.
    A skoro jest tani gracz to właściciel zechce często sobie wynagrodzić otwarcie...

    Albo mu się odmieni, Nikon teraz, są 2 adaptery a podobno Viltrox nie może zrobić trzeciego....

    Uważam że przy takiej ilości danych każdy ma tak tylko swoje fantazje.

    Sony jest otwarte, można się nastawić kupić sprzętu aż wyjdzie nowy fajny aparat i jakąś funkcja będzie tylko z oryginalnymi obiektyw ami?
    I co zrobić z całym dorobikiem w alternatywa h?

  81. Negatyw
    Negatyw 24 stycznia 2026, 01:15

    @BlindClick, Ami to nie jest obiektyw tylko aparat (z obiektywem). link

Napisz komentarz

Komentarz można dodać po zalogowaniu.


Zaloguj się. Jeżeli nie posiadasz jeszcze konta zarejestruj się.